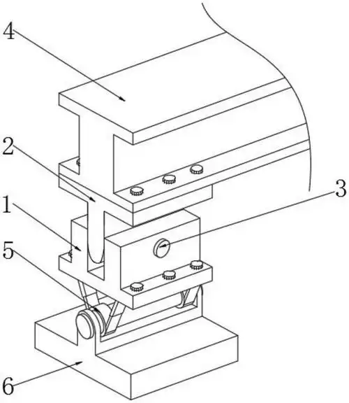
cn110301993a_一种简易型多用途大鼠股骨外固定支架在审

高清图片下载 免费 安全无风险
cn110301993a_一种简易型多用途大鼠股骨外固定支架在审

cn110301993a_一种简易型多用途大鼠股骨外固定支架在审

点击图片查看原图

图片信息

  • 格式: JPG
  • 尺寸: 1000x703
  • 大小: 约1.2MB

版权声明

相关标签

自然风光 高清壁纸 4K画质

分享图片

相关推荐

基于当前图片的相似推荐

一种新型金属管道固定支架

一种可调贝式固定支具的制作方法

下图表示为()支座.a.a.光滑圆柱铰链b.b.可动铰链c.c.固定铰链d.d.

一种建筑底部用隔震橡胶支座

厂家批发双面挡板式固定支座97r412标椎

cn209091800u_一种可调贝式固定支具有效

新型博物馆文物固定支座的制作方法

一种用于柱构件的固定底座制造技术

cn213442396u_一种汽车生产用线束安装固定支座有效

图纸来了:三腿支座 - 抖音

支座结构,所述转动装置包括转动杆,所述转动杆的表面对称固定套接有

随机推荐

发现更多精彩图片

贝克汉姆头像短发帅气图片_微信头像图片大全

著名老书法家卢定山28首行书唐诗绝句欣赏现代行书的巅峰

商用火锅底料炒料机大型多爪搅拌炒锅全自动炒料机

花太香_歌谱简谱_哆来咪123曲谱网

刘雨昕 潮流合伙人 - 堆糖,美图壁纸兴趣社区

江西专版2019春九年级数学下册第一章直角三角形的边角关系小结与复习

1970年尼桑达特桑240z经典跑车

看着大红枣和花样馒头,就觉着充满了喜

黄新:济南有座英雄山