奔驰在内饰这一块还没有输过.#奔驰 #奔驰s级 #奔驰c级 - 抖音

高清图片下载 免费 安全无风险
奔驰在内饰这一块还没有输过.#奔驰 #奔驰s级 #奔驰c级 - 抖音

奔驰在内饰这一块还没有输过.#奔驰 #奔驰s级 #奔驰c级 - 抖音

点击图片查看原图

图片信息

  • 格式: JPG
  • 尺寸: 1080x1350
  • 大小: 约1.2MB

版权声明

相关标签

自然风光 高清壁纸 4K画质

分享图片

相关推荐

基于当前图片的相似推荐

【图】2023款美规奔驰s500豪华内饰 现车报价多少钱_东莞行情 - 车主

徐州地区奔驰gls年初降价来袭!优惠14.5万,仅此一次-汽车之家

奔驰方向盘套新e级a级c级glc glb gla翻毛皮把套改装饰车内饰用品

奔驰eqe内饰放什么车搭子会好一点呢_奔驰eqe社区_易车社区

梅赛德斯-奔驰新e系轿车内饰_图片_新浪汽车_新浪网

珠海奔驰cls火热促销!促销优惠6万,不容错过-汽车之家

全新梅赛德斯-奔驰a级内饰官图发布(多图)

最好的情人节礼物?奔驰g 500璀璨特别版上市,车内镶一

【 奔驰c级高清图片】_黑色内饰_内饰_搜狐汽车网

对于这几款奔驰车中控的欣赏以及品鉴

为什么销量都在下滑的2月,奔驰glc销量还能反升_太平洋号

随机推荐

发现更多精彩图片

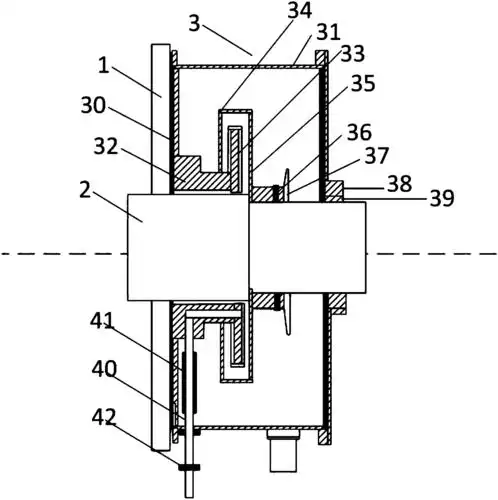
cn207999387u_一种煤气除尘风机的水密封结构有效

"奥运品质"再获殊荣 伊利成为第十三届全运会指定供应商

"男孩子穿裙子可以有多性感?哪个女生能顶得住啊啊啊!

如何解决拍摄企业宣传片时遇到的问题?

变压器生产工艺流程图

3g热水器安装实拍图汇集

mc33035dw参数datasheetpdf下载

原创泾渭分明泾河与渭河谁清谁浊

回家古风唯美意境句子