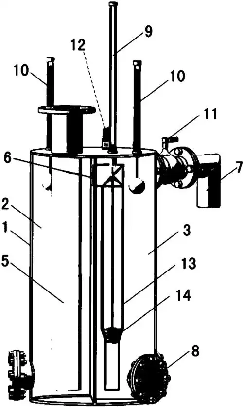
cn207999387u_一种煤气除尘风机的水密封结构有效

高清图片下载 免费 安全无风险
cn207999387u_一种煤气除尘风机的水密封结构有效

cn207999387u_一种煤气除尘风机的水密封结构有效

点击图片查看原图

图片信息

  • 格式: JPG
  • 尺寸: 1830x1837
  • 大小: 约1.2MB

版权声明

相关标签

自然风光 高清壁纸 4K画质

分享图片

相关推荐

基于当前图片的相似推荐

水封罐的工作原理和结构

一种直流钛渣电炉煤气柜进口降温式u型水封

煤气水封配水系统优化设计与改造

cn212055915u_一种新型双驱动全封闭煤气水封插板阀有效

涉及化工设备领域,具体包括水封罐,水封罐内部固定安装有两个对称分布

一种可以防止煤气泄露的水封式煤气脱水器的制作方法

谁有煤气水封结构图啊

sfnzf全自动煤气水封逆止阀厂家

一种可以防止煤气泄露的水封式煤气脱水器

一种大压力煤气管道用水封装置的制作方法

一种新型u型管煤气水封

随机推荐

发现更多精彩图片

繁花似锦来袭当高伟光遇上大龄灰姑娘张雨绮霸总剧还爽吗

6位女星的孕妇照李小璐野性baby唯美看到图6沦陷了

挂耳短发:时尚新宠,颜值加分利器

白金钻石梅河店人生幸运的事是平安无事

登徒子现在是什么意思登徒子是形容什么人

美丽的宽巷子世间只有一个通行的道理:惟有炽热而浓烈的爱,才能对这

奥利奥抹茶味蛋卷55g巧脆卷夹心饼干新品休闲零食儿童办公室网红

古风侧脸手绘图片男生头像

这件事情是周王朝衰败的重要标志,周平王因此颜面扫

望夫石边,有一株含羞草,困了贞女的热泪,幕然洒下,那一缕晶莹 - 抖音