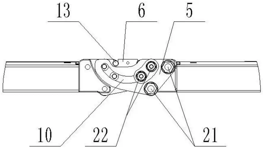
一种助力式折叠支撑机构及其家具的制作方法

高清图片下载 免费 安全无风险
一种助力式折叠支撑机构及其家具的制作方法

一种助力式折叠支撑机构及其家具的制作方法

点击图片查看原图

图片信息

  • 格式: JPG
  • 尺寸: 975x1000
  • 大小: 约1.2MB

版权声明

相关标签

自然风光 高清壁纸 4K画质

分享图片

相关推荐

基于当前图片的相似推荐

一种具有限位功能的折叠机构及其跑步机-爱企查

本实用新型涉及农用机械领域,尤其涉及一种折叠大臂的伸展机构.

一种滑板车的折叠机构的制作方法

一种跑步机用折叠机构的制作方法

一种纸巾折叠机的折叠机构

一种折叠展开机构制造技术

折叠自行车的折叠装置

cn106799748a_助力折叠刀有效

一种折叠式童车的制作方法

折叠车的折叠驱动机构

全自动折叠机折叠机构制造技术

cn202099008u_折叠式吊机失效

随机推荐

发现更多精彩图片

粉色卡通春节包饺子小报手抄报卡通小报手抄报doc

2021女生半身头像jk制服

2016广州国际车展车模

第一个cadd9和弦,意思是在c和弦的基础上,加上一个9音(re) .

电子琴指法入门教程_电子琴手指弹奏方法

日本品种匠心级春见丑橘新鲜不知火耙耙柑丑八怪橘子顺丰 原箱8斤 净

活动报名一小玩童杆秤制作

中国的气候 复习答案ppt_word文档在线阅读与下载_无忧文档

工作室@鞠婧祎应援会官微@鞠婧祎#绘美人睿麻手绘#真心和偏爱最能打动

四年级数学下册四则混合运算口算试题

《喜羊羊与灰太狼》中的小灰灰有妹妹吗?

舞队演出合集 8人队形版《红枣树》