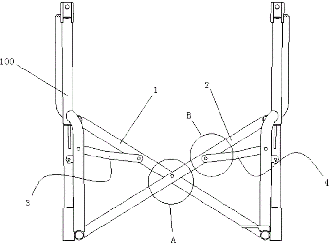
一种具有限位功能的折叠机构及其跑步机-爱企查

高清图片下载 免费 安全无风险
一种具有限位功能的折叠机构及其跑步机-爱企查

一种具有限位功能的折叠机构及其跑步机-爱企查

点击图片查看原图

图片信息

  • 格式: JPG
  • 尺寸: 1751x988
  • 大小: 约1.2MB

版权声明

相关标签

自然风光 高清壁纸 4K画质

分享图片

相关推荐

基于当前图片的相似推荐

一种电动轮椅的折叠机构的制作方法

本实用新型涉及农用机械领域,尤其涉及一种折叠大臂的伸展机构.

一种滑板车的折叠机构的制作方法

cn207257742u_一种儿童推车收车折叠机构有效

一种纸巾折叠机的折叠机构

折叠自行车的折叠装置

一种拉簧助力折叠刀的制作方法

cn106799748a_助力折叠刀有效

全自动折叠机折叠机构制造技术

cn202099008u_折叠式吊机失效

cn206476575u_一种折叠机有效

随机推荐

发现更多精彩图片

鼠壹不二快乐2020卡通壁纸图片

唯美雏菊高清动态壁纸

郑爽前男友张恒因拖欠员工工资被起诉 公司成被执行人

女指挥:乔安娜·马威茨 /dirigentin joana mallwitz

蓝色圣诞彩灯麋鹿背景素材

韩剧窥探李升基主演国民弟弟

自然,植物,玫瑰,花卉,rose,flowers,plants,壁纸,高清壁纸自然,植物

星地球空唯美星空下的麋鹿治愈系插画海报背景星空麋鹿

上海外滩的历史建筑

包括射流器和工作泵.射流器由喷嘴,喉管,扩散管及吸入室等部件组成.

轨道运输车山地果园运货车汽油单轨运输车