双立人zwilling刀具套装怎么样双立人zwilling刀具套装评测二个月感受

高清图片下载 免费 安全无风险
双立人zwilling刀具套装怎么样双立人zwilling刀具套装评测二个月感受

双立人zwilling刀具套装怎么样双立人zwilling刀具套装评测二个月感受

点击图片查看原图

图片信息

  • 格式: JPG
  • 尺寸: 307x405
  • 大小: 约1.2MB

版权声明

相关标签

自然风光 高清壁纸 4K画质

分享图片

相关推荐

基于当前图片的相似推荐

双立人zwilling刀具套装enjoy中片刀多用刀2件套菜刀水果刀切片刀切菜

德国双立人(zwilling)全钢刀具七件套装不锈钢菜刀厨房家用厨具组合

双立人(zwilling)s系列不锈钢刀具套装三件套35602-000 厨师刀 切片刀

德国双立人刀具套装厨房套刀红点系列6件套含切菜刀进口不锈钢

双立人(zwilling)刀具两件套 中片刀 多用刀

双立人 enjoy 刀具 18cm中片刀

德国双立人刀具不锈钢斩骨刀家用厨房菜刀剁骨刀德国进口 四星系列

德国双立人now s系列2件套中片刀家用菜刀多用刀切菜切肉不锈钢刀

双立人刀具 32332-002 不锈钢厨房红点2件套 中片刀菜刀 多用刀-淘宝

随机推荐

发现更多精彩图片

问题一,李沁丈夫是谁?

张钧甯切换事业路线,绯闻男友个个精彩,奈何还没修成正果

17 recc 百里画廊绕圈骑行精彩照片记录,pr也有了,美照也有了,完美的

性脸型 ,比如#长圆脸 #长方脸 #方圆脸 等等~今天指姐就以#赵丽颖

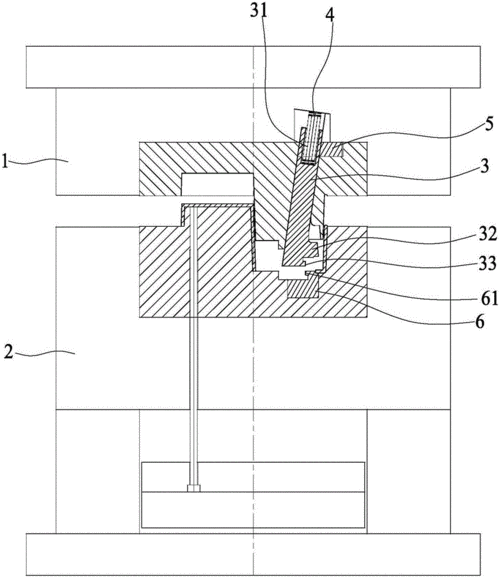
前模斜顶注塑模具的制作方法

丰田发动机液力挺杆是什么(丰田rav4)【汽车时代网】

森森鱼缸三合一潜水泵过滤器静音抽水泵鱼缸过滤设备增氧鱼缸水泵

如何评价《金粉世家》中的三少奶奶王玉芬?

过年儿童放鞭炮插画

最美极简主义装修效果图这才是家的样子

2010-07-22 为什么鲶鱼的内脏长在头部? 鲶鱼长什么样 &