力丰b20打面粉机b30/b40b50b60面团搅拌机和面机多功能打蛋机商用

高清图片下载 免费 安全无风险
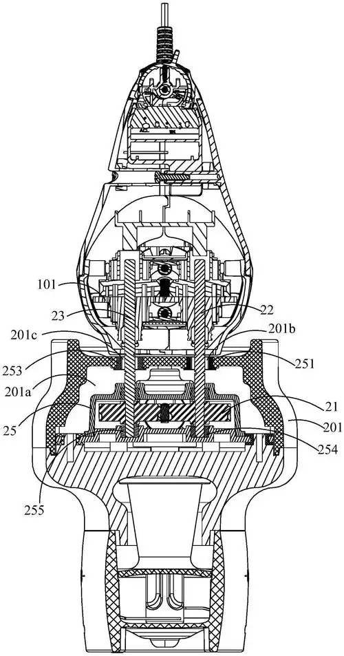
力丰b20打面粉机b30/b40b50b60面团搅拌机和面机多功能打蛋机商用

力丰b20打面粉机b30/b40b50b60面团搅拌机和面机多功能打蛋机商用

点击图片查看原图

图片信息

  • 格式: JPG
  • 尺寸: 750x1134
  • 大小: 约1.2MB

版权声明

相关标签

自然风光 高清壁纸 4K画质

分享图片

相关推荐

基于当前图片的相似推荐

力丰b30搅拌机商用多功能和面机打蛋搅拌和面机忌廉机容量30升

齿轮箱组件及搅拌机

搅拌机传动部件结构设计

拆解两个家庭搅拌机

《面点搅拌机》维修案例

力丰b20b30搅拌机配件齿轮箱齿轮整套中心轴齿轴蜗轮轴全套 b20搅拌机

力丰b10搅拌机 商用打蛋机 和面机 多功能打蛋器 蛋糕店设备 10l

食品搅拌机两轴变速齿轮箱搅拌头总成上下分体结构机头的制作方法

厂家直销 力丰b20搅拌机/和面机/打蛋机/商用.食品搅拌机20l

力丰h20h30fhf50ch60和面机零件配件齿轮主轴商用厨师机

力丰 旭众b30强力 b40 b50 b60 b80搅拌机配件 转座 搅拌轴 齿轮

随机推荐

发现更多精彩图片

就是,那个,在阿熊捣鼓七勇者2的期间,有点闲下来就,又弄个了小游戏.

14人,分别是鄢士博,鄢手骐,俞泽辰,张立文,丛明晨,马壮,周俊成,张镇麟

白百何 气质独特 一指禅天下无敌[鲜花]

一粉一蓝闺蜜头像来了! - 抖音

物流快递送货餐饮的好选择开瑞新能源海豚ev实拍解析

手绘卡通可爱熊猫矢量素材

韩国留学|盘点几所开设中文mba硕士的qs前500大学,建议收藏!

简笔画 画一个古代的格格吧!

秀丽的山林湖泊图片750x1334分辨率查看