一目了然电梯工作原理

高清图片下载 免费 安全无风险
一目了然电梯工作原理

一目了然电梯工作原理

点击图片查看原图

图片信息

  • 格式: JPG
  • 尺寸: 902x508
  • 大小: 约1.2MB

版权声明

相关标签

自然风光 高清壁纸 4K画质

分享图片

相关推荐

基于当前图片的相似推荐

液压式"1电梯根据原理不同,分为液压式,螺杆式,曳引式.

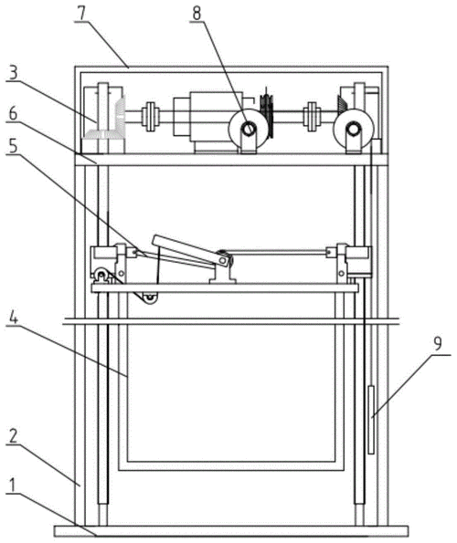
一种新型家用螺杆平台电梯的制作方法

一种螺杆式升降电梯的制作方法

家用电梯的驱动方式有:曳引驱动,螺杆和螺母驱动,液压驱动以及强制

cn107758476a_螺杆倍升式的升降机在审

一种螺杆升降机的制作方法

让你彻底搞懂垂直升降电梯工作原理

厂家直销广东广西室内室外别墅家用电梯 二层三层家用别墅电梯

惊呆了,电梯编码器竟然可以如此工作!

cn210029648u_一种新型双螺杆电梯有效

一种新型双螺杆电梯的制作方法

同步丝杆升降台设计方案具体有哪些?

随机推荐

发现更多精彩图片

【折纸 搬运】加藤狼v3

动漫情侣头像戴口罩一男一女 动漫头像图片大全 -【爱个性】

我就是听我宝贝的 - 我的宝贝,我惯的!

寄存柜寄存行李注意事项

喜欢打台球的各位,你们的手机壁纸该换了!

新大洲本田国四电喷裂行rx125三色高配版无钥匙启

正楷字体范本王羲之小楷字帖

皇江山祠堂牌匾 东阳木雕实木牌匾寺庙门头书法横批对联

成亲王小楷《心经》欧阳询楷书法度之严谨,笔力之险峻,世所无匹,被称

特意把"诚信赢天下"和"爱拼才会赢"作为释文写在"赢"字之下,主要是

我下巴下面部分的肉足怎么回事?怎么减下去