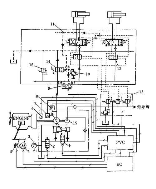
波兰k-408型挖掘机液压系统的故障及排除方法

高清图片下载 免费 安全无风险
波兰k-408型挖掘机液压系统的故障及排除方法

波兰k-408型挖掘机液压系统的故障及排除方法

点击图片查看原图

图片信息

  • 格式: JPG
  • 尺寸: 601x492
  • 大小: 约1.2MB

版权声明

相关标签

自然风光 高清壁纸 4K画质

分享图片

相关推荐

基于当前图片的相似推荐

小松pc220-5挖掘机电子油门控制系统与故障诊

速度双闭环控制油路

挖掘机油门控制系统设计

日立ex 系列液压挖掘机机电一体化控制系统分析

挖机行走马达控制回路简介

p>挖掘机的液压系统就是按照挖掘机工作装置和各个机构的传动要求,把

挖掘机发动机控制系统发动机油门控制电路图!

挖掘机油门控制系统设计

cn103806496b_挖掘机液压控制系统有效

挖掘机液压系统讲解控制系统详解

ec210b挖掘机主液压油路图,主要是七路换向阀,它接受先导阀的控制信号

随机推荐

发现更多精彩图片

你的壁纸被我承包了 #我又来送图啦 #无水印壁纸 只要不 - 抖音

可爱萌宠小猫咪卖萌写真,动物-回车桌面

男艺人曾舜晞休闲帅气时尚街拍

原创只因29年前的一句口头承诺窦唯再也没唱过黑豹时期的任何歌曲

lr41纽扣电池a76松下lr44192手表计算器儿童玩具ag13数显游标卡尺温度

任敏《玉骨遥》,张彬彬,徐璐《月歌行,王鹤棣,陈钰琪《浮图缘》,龚俊

钱凯丽直言我是kelly,蔡羽反问道:我认识的kelly不是这样的.

市住房和建设局局长李荣强在市住房公积金管理中心揭牌仪式上讲话.

夜神月头像 喜欢的请点个赞 #死亡笔记# #夜神月# #动漫男头# #ph团队

阿巴 痴呆?_阿巴_痴呆表情

梁钢筋计算讲解(49页)

淡雅青蓝色天空1080x2160分辨率下载,淡雅青蓝色天空,图片,壁纸,自然