加价超5万美元,福特野马shelby gt500以进口的形式在欧洲上市

高清图片下载 免费 安全无风险
加价超5万美元,福特野马shelby gt500以进口的形式在欧洲上市

加价超5万美元,福特野马shelby gt500以进口的形式在欧洲上市

点击图片查看原图

图片信息

  • 格式: JPG
  • 尺寸: 1920x1080
  • 大小: 约1.2MB

版权声明

相关标签

自然风光 高清壁纸 4K画质

分享图片

相关推荐

基于当前图片的相似推荐

台州2020年4月福特mustang福特mustang绿色手自一体

2020款福特mustang上市经典掠光绿复刻归来偶像跑车性能再进阶

2020款福特mustang上市 经典掠光绿复刻归来,偶像跑车性能再进阶

福特mustang跑车销量三连冠

适用于15-21款福特野马改装gt500谢尔比大包围前后保险杠侧裙后唇

限量500台只有6速手动挡选择赏析2020款福特野马rspec版

进口福特野马天津港报价配置图片2.3t价格23.5万最低价

福特野马幻彩荧光绿

福特野马幻彩金绿mg36

年轻人最应该买的车,福特野马,跑出你的青春!

18-39.58万 询底价 看配置 2013款福特野马v6 3.7l自动型

随机推荐

发现更多精彩图片

泽塔奥特曼德尔塔天爪最帅的一次变身

雪加发布全球首款电子咖啡探索电子烟新品类

旧监狱及单独监禁牢房

社保生育险怎么报销 社保里的生育险死胎引产能报吗

叶罗丽官方新壁纸,莫纱手托火焰,菲灵神秘美丽,御王藜灰很呆萌

有时候也会想,如果当年蓝琼缨嫁的人不是何鸿燊,如

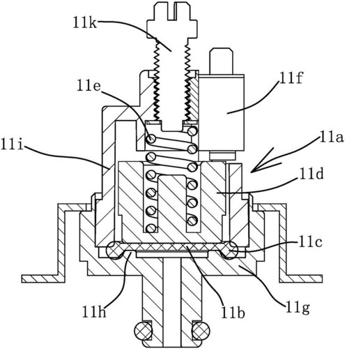
新型压力开关的制作方法

瑞幸新品闪光橙橙瑞纳冰

冷藏热饮均可 进口锡兰红茶&伊利优质牛奶 【京东商城】味可滋

吉利帝豪gs全车改色 如同黑色武士蓄力激发

特别行政区香港法律出版社中华人民共和国基本法全国人民代表大会关于