黑桃皇后是一种新型水果,外表黑紫红色,营养价值高,口感鲜甜清爽.

高清图片下载 免费 安全无风险
黑桃皇后是一种新型水果,外表黑紫红色,营养价值高,口感鲜甜清爽.

黑桃皇后是一种新型水果,外表黑紫红色,营养价值高,口感鲜甜清爽.

点击图片查看原图

图片信息

  • 格式: JPG
  • 尺寸: 1910x1280
  • 大小: 约1.2MB

版权声明

相关标签

自然风光 高清壁纸 4K画质

分享图片

相关推荐

基于当前图片的相似推荐

黑桃黑桃皇后现摘甜脆水果非洲黑美人五斤包邮山东桃

黑桃皇后,这一爆款水果新贵不容错过97富含花青素,口感甜美无比.

黑桃皇后是一种价格高昂但口感极佳的水果,冷藏后口感更佳.

新品水果—黑桃皇后

黑桃皇后是一种新型水果,外表黑紫红色,营养价值高,口感鲜甜清爽.

桃中珍品"黑桃皇后",栽种简单,营养丰富,你值得拥有!

大家不要误会啊,不是其他的"黑桃皇后",是水果"黑桃皇后".

这款黑桃皇后千万不能错过,营养价值丰富,花青素含量极高!

它披着一身黑紫红色的外衣,看起来丑丑的,它就是黑桃皇后

黑桃皇后属于桃子稀有品种外黑里黄具有浓郁的蜂蜜口感蜜甜多汁

山东蒙阴黑桃皇后5斤 黑血丝水蜜桃脆桃新鲜时令水果【图片 价格 品牌

山东蒙阴黑桃皇后5斤 黑血丝水蜜桃脆桃新鲜时令水果【图片 价格 品牌

随机推荐

发现更多精彩图片

求微信聊天背景图,全是字的那种,老婆我爱你和老公我爱你.两张都要

查看:577 * 贴子主题:相互依偎的小鹦鹉

悯农([唐]李绅词 夏宝森曲)简谱-合唱曲谱-爱曲谱网

复古绅装画报欣赏|蓝色系.#西装 #广告设计 #插画分享 # - 抖音

闪耀暖暖图鉴欣赏不失性感的次元特工服

大便带血 - 搜狗百科

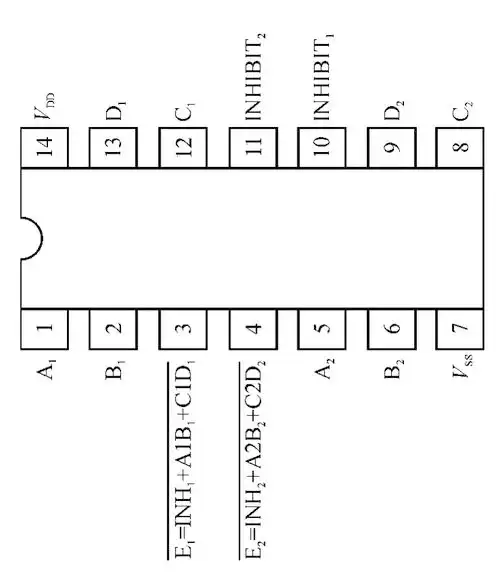
图6-222 cc4085二双与或非门图6-223 ua741 单运放

汉中石门栈道.蓝天,白云,青山,绿水.组成一幅不可描绘的画, - 抖音

魔香泡沫发蜡弹力造型卷发保湿蓬松定型羊毛卷泡泡摩丝发胶450ml