殷桃眼神杀##林睿谈判

高清图片下载 免费 安全无风险
殷桃眼神杀##林睿谈判

殷桃眼神杀##林睿谈判

点击图片查看原图

图片信息

  • 格式: JPG
  • 尺寸: 690x779
  • 大小: 约1.2MB

版权声明

相关标签

自然风光 高清壁纸 4K画质

分享图片

相关推荐

基于当前图片的相似推荐

正青春热播殷桃职场博弈赢下第一战

《正青春》热播 殷桃职场博弈战况升级

最近看了一部剧正青春殷桃长得是真漂亮啊

《正青春》热播 殷桃职场博弈赢下第一战

最近看了一部剧正青春殷桃长得是真漂亮啊

正青春曝定档预告殷桃开启职场生存战

殷桃《正青春》剧照

这次真的被正青春中的殷桃美到了女强人搭配看着更有个性

这次真的被正青春中的殷桃美到了女强人搭配看着更有个性

《正青春》热播 殷桃职场博弈战况升级

殷桃,何润东最新都市职场剧《正青春》首爆预告!

《正青春》殷桃造型夸张,气场强大好像大姐大

随机推荐

发现更多精彩图片

陈晓沈星移要被气死了生气soogifsoogif出品gif动图_动态图_表情包

对象是猫咪情侣头像 高清可爱另一半是猫咪的情头图片_真人情侣头像

熊猫头表情包简笔画熊猫头表情包简笔画步骤

马克笔手绘动漫人物长发女孩

章小蕙在国外这么敢穿一袭蕾丝裙显出尤物身材哪像大婶的年纪

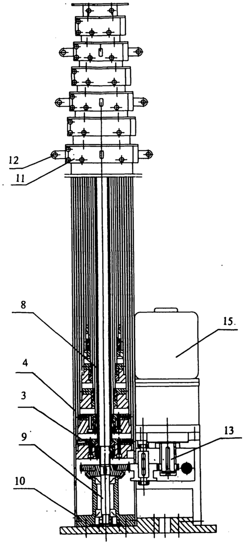
cn100404912c_方管形丝杠传动升降杆有效

简洁工业设备管理系统

am3技嘉主板接线图解

davidoff horizon 2016新品 大卫杜夫地平线男士淡香水125ml

损坏物品照价赔偿温馨提示牌商场超市贵重物品禁止请勿触摸触碰警示

这是滇军第60军在东北阅兵时拍摄的一张照片,时间为1946年6月.

我就问你办不办卡?泰塔斯の健身♂哲学