美国陆军军衔简介

高清图片下载 免费 安全无风险
美国陆军军衔简介

美国陆军军衔简介

点击图片查看原图

图片信息

  • 格式: JPG
  • 尺寸: 600x421
  • 大小: 约1.2MB

版权声明

相关标签

自然风光 高清壁纸 4K画质

分享图片

相关推荐

基于当前图片的相似推荐

阿联酋海军的军衔与海军,陆军完全一样,肩章背景色为天蓝色.

阿联酋校级以上军官(少将除外)军衔标志上都有一个军徽标志,军徽图案

世界各国军衔标志:阿联酋军队军衔标志

你见过最高的军衔只能是少将的部队吗

《太阳的后裔》中柳时镇军衔是什么?

一颗国徽加一颗星是什么军衔?请叫高手你说的是55式军衔,那是元帅军衔

cf各国军衔图标替换软件 2014绿色版

法国外籍军团军衔和组织详解

随机推荐

发现更多精彩图片

肖战王一博不忘曲尽陈情无羁陈情令南京1102超清完整版

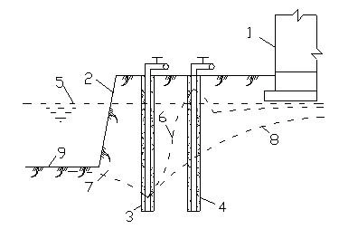
免费文档 所有分类 深基坑降水回灌结合技术 井点回灌是在井点降水的

冬季创意画|窗外雪景.冬天啦,小朋友不仅可以在房间里看雪,还 - 抖音

有没有好心人可以发一些山河令电脑桌面高清壁纸

上班喝茶聊天是不是属于摸鱼

《wind》火影忍者练习曲

ultra适用10s新款10女note9pro男13钱包空空k30k60创意恶搞8se青春版

为什么伊朗曾经9岁就能结婚,而中国却要20岁?原因让人不解!

巴丹吉林沙漠.巴丹吉林沙漠,为中国第三大沙漠,位于内蒙古自治 - 抖音

心梗救治日 | 牢记两个"120" 突发心梗能救命_患者_治疗_症状