早春女装搭配一整套奶乖时尚漂亮跨年氛围感穿搭战袍连衣裙子套装

高清图片下载 免费 安全无风险
早春女装搭配一整套奶乖时尚漂亮跨年氛围感穿搭战袍连衣裙子套装

早春女装搭配一整套奶乖时尚漂亮跨年氛围感穿搭战袍连衣裙子套装

点击图片查看原图

图片信息

  • 格式: JPG
  • 尺寸: 750x1000
  • 大小: 约1.2MB

版权声明

相关标签

自然风光 高清壁纸 4K画质

分享图片

相关推荐

基于当前图片的相似推荐

秋季服装搭配秋季服装搭配图片女

穿衣搭配—春季女生上班怎么穿搭的高级又大方气质?

服装搭配图甜美范修身花边领套头毛衣

尽管骨瘦如柴的女生并不需要太在意服装的瘦身效果,但是能衬托身材的

在服装搭配上,不同的服装风格有着不同的穿搭

几组常见款服饰春季搭配,优雅休闲又时尚,附带手绘效果图

当以白色裤子为主进行搭配的时候,黑色只是起到了一定小小过渡的效果

春天西装怎么搭配倪妮穿西装时尚优雅白领这样穿时髦又好看

她们的服装搭配往往可以给女性带来一些启发,比如下面这24套时髦穿搭

色系搭配技巧服装知识(穿搭颜色搭配表及效果图片)(15)

衣服颜色搭配表及效果图片,衣服颜色搭配表及效果图片欣赏(24套秋季咖

随机推荐

发现更多精彩图片

《小时代》杨幂的珠宝造型欣赏

阅读活动书籍摄影图海报教育宣传阅读理解红色炫酷小红书点击在线编辑

代旭 受邀出席第四届时尚北京之夜

windows10美丽的海边风景2k桌面壁纸

狐狸:hermann hirsch摄,仅有银狐的一只耳朵和眼睛出现在这张黑白照片

还是第一次画数学手抄报#手抄报作业 #手抄报模板 #手抄报素材

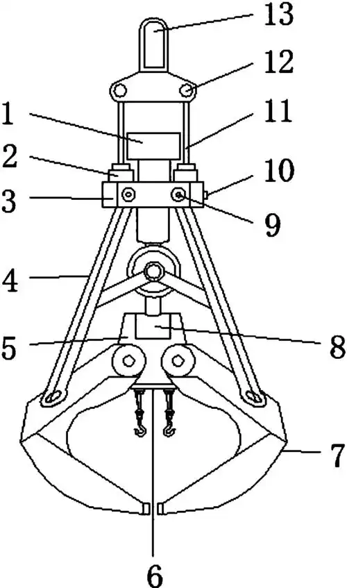
一种新型多功能汽车轮胎抓斗

芈月传芈姝高清图片电脑桌面壁纸3

戏台上唱戏的动漫场景电脑壁纸