迫击炮原理介绍

高清图片下载 免费 安全无风险
迫击炮原理介绍

迫击炮原理介绍

点击图片查看原图

图片信息

  • 格式: JPG
  • 尺寸: 605x375
  • 大小: 约1.2MB

版权声明

相关标签

自然风光 高清壁纸 4K画质

分享图片

相关推荐

基于当前图片的相似推荐

九七式迫击炮弹的引信图我真没找到…… 资料来源:超大 龙腾

一种小口径旋转炮弹弹头机械触发引信的制作方法

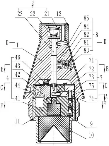
以国产63式60毫米迫击炮配用的迫-3引信为例,这种引信有个特点是明确

一车的弹药都会因此直接爆炸,所以现在我们军队中的迫击炮换用了新型

世界顶尖水平的迫击炮引信——美国m734多用途迫击炮引信 - 砖家 - 砖

具有侵彻时间自适应功能的迫击炮弹弹头机械触发引信

世界最先进,单价230美元:美国m734多用途迫击炮引信

美制m52瞬发引信构造

迫击炮身管发射炮弹原理图 由此不难看出,这一古老的装备

炮兵的种类和专业术语介绍|火箭炮|迫击炮|加农炮|炮弹_网易订阅

另外,还有一种情况,如果迫击炮弹没有被撞针引爆,或

随机推荐

发现更多精彩图片

《谎言真探》获好评,测谎很精彩,剧情反转紧凑,余男表现抢眼

置身事外(庄心妍演唱歌曲)

数码宝贝:黑大耳兽进化成"玉兔兽",长得太丑了

穿五行属什么穿在名字中的寓意

酷酷的我在酷酷的走图片-西凉锦马超在此表情包下载-沧浪手游

小提琴调与指法换把

资产经营有限公司2016年第6次董事会会议顺利召开

直达三环 1000平花园带超大泳池 真正的城市合院独栋, 九章别墅二手房

重庆巫山巫峡99神女景区入围国家5a级旅游景区创建名单

勇敢传说电脑桌面壁纸

晒一晒,近日创作的油画---龙脊梯田风景(两幅)