6探究滑轮的作用(一)ppt 粤教沪版八年级物理 1,滑轮的结构 第3页 (共

高清图片下载 免费 安全无风险
6探究滑轮的作用(一)ppt 粤教沪版八年级物理 1,滑轮的结构 第3页 (共

6探究滑轮的作用(一)ppt 粤教沪版八年级物理 1,滑轮的结构 第3页 (共

点击图片查看原图

图片信息

  • 格式: JPG
  • 尺寸: 1080x810
  • 大小: 约1.2MB

版权声明

相关标签

自然风光 高清壁纸 4K画质

分享图片

相关推荐

基于当前图片的相似推荐

急求:有关滑轮组的问题,做的给分!

cn201357770y_悬吊滑轮失效

it/计算机 电脑基础知识 > 滑轮组组装方法1,基本结构:定滑轮,动滑轮

(教科版)六年级科学上册课件 滑轮组ppt

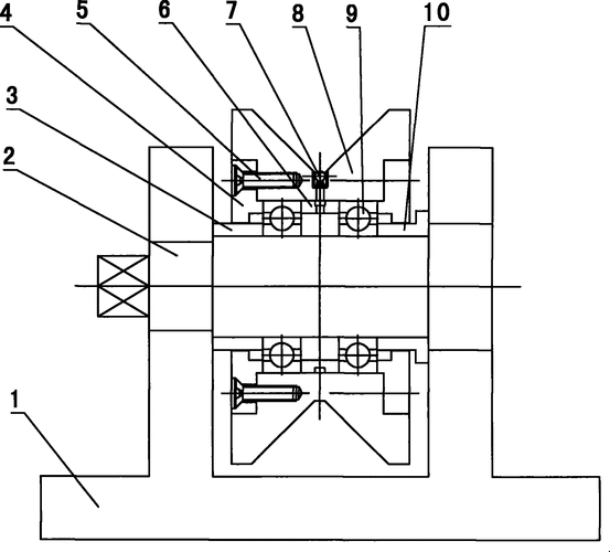
10—吊钩图6jh10-2cjh10-2d型滑车结构图1—尾绳环;2—连接轴;3—滑轮

用滑 或滑轮轮组提同起重一物(如所示图,其)中 效最率的是高 b f f

给你画了图,a,b,c分别为定滑轮,动滑轮,滑轮组图

随机推荐

发现更多精彩图片

回复:【动漫gif】镇楼图里面的人绝对是正太 鬼畜攻 简直是人不可貌

可玉可求母亲节礼物【玉石孤品】翡翠玉吊坠 飘黄翡八破图男士玉佩

减速机通气帽透气塞 c型空气过滤器滤清器液压油箱盖齿轮箱排气阀

卡地亚牛头项链哪款颜色好看

壮丽云海风景桌面高清桌面壁纸图片下载高清大图预览其它尺寸_风景壁

美图:一组西方室外野外场景图片分享

厂家定制全自动电窑炉实验电炉瓷器烧制设备陶艺电窑家用高温窑炉

福利我们开始送手雷激动不