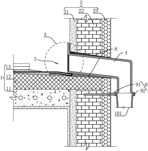
屋面女儿墙排水口效果

高清图片下载 免费 安全无风险
屋面女儿墙排水口效果

屋面女儿墙排水口效果

点击图片查看原图

图片信息

  • 格式: JPG
  • 尺寸: 1080x722
  • 大小: 约1.2MB

版权声明

相关标签

自然风光 高清壁纸 4K画质

分享图片

相关推荐

基于当前图片的相似推荐

钢结构女儿墙天沟溢水口详图cad图纸

屋面女儿墙溢水口的问题

屋面女儿墙溢流口做法是什么

屋面女儿墙溢流口做法是什么

女儿墙排水口建筑构造

暗埋式排气孔(一般设在女儿墙和塔楼墙体上或伸入屋面风帽内.

屋面女儿墙溢流口做法是什么

房子为什么都要做女儿墙有什么说法

屋面女儿墙排水口效果屋面墙面分格条效果屋面造形梁效果屋面格栅安

7.雨水口6.水簸箕5.排气管根部4.女儿墙3.管根,烟道2.管道过桥1.

随机推荐

发现更多精彩图片

易烊千玺 #tfboys 六周年告白演唱会 高清

广东海丰红宫红场 红色旅游景区

额头窄适合什么发型快看看有没有适合你的

97这是京剧里面的凤冠,属于南方风格97超级闪,全部都是钻.

朗多手臂受伤严重变形

日产轩逸车身后面字母是classic是什么系列的

安徽花鼓灯的锣鼓艺术简析

清晨早安语录正能量励志说说句子

马来西亚民族服装女阿拉伯少女甜美衬衫中东马来上衣 arab shirts

毛阿敏与丈夫解直锟

旺隆水库,在河北省易县境内,紧临清西陵.