冰箱有水怎么办哪里来的怎么处理

高清图片下载 免费 安全无风险
冰箱有水怎么办哪里来的怎么处理

冰箱有水怎么办哪里来的怎么处理

点击图片查看原图

图片信息

  • 格式: JPG
  • 尺寸: 1080x1439
  • 大小: 约1.2MB

版权声明

相关标签

自然风光 高清壁纸 4K画质

分享图片

相关推荐

基于当前图片的相似推荐

冰箱推荐海尔冰箱选购指南海尔冰箱怎么样如何选2023年11月

冰箱里的排水孔流到哪里呢

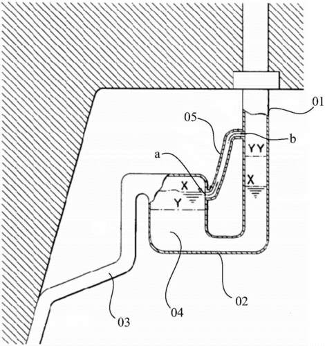
一种冷冻冷藏装置用排水管及冰箱的制造方法

1,要是冰箱的排水孔出现了堵塞的问题,是会比较麻烦的,容易在冰箱内

视听娱乐进厨房 测美菱雅典娜三门冰箱

容声冰箱bcd-563wy-c-y34

达米尼(damiele)bcd-568wkdzb 568升对开门冰箱带吧台 双开门冰箱 对

冰箱排水孔疏通图解

夏季来了-冰箱如何保养

随机推荐

发现更多精彩图片

女星唐艺昕写真集:温婉唯美,端庄优雅

56岁崔佩仪选择独自生活不想黏着丈夫儿子靠自己勇敢地往前走

拼音g的笔顺怎么写 - 西瓜视频

简笔画花边边框超简单a4纸

手机全屏壁纸 - 华为nova7系列分享交流 花粉俱乐部

假面骑士圣刃:邪王之龙降临!水之剑士遭遇重创,世界危机到来_王剑

🐚🏠贝壳小屋:海洋主题的精致微缩景观

大号合金儿童遥控挖掘机玩具车男孩汽车工程车挖机电动挖土机

分期acer/宏碁e5-572g新品e5-575g酷睿7代i5游戏手提笔记本电脑

素描基础几何体倒六棱柱透视掌握好了没