金刚柚木 910/125/18 215/方

高清图片下载 免费 安全无风险
金刚柚木  910/125/18   215/方

金刚柚木 910/125/18 215/方

点击图片查看原图

图片信息

  • 格式: JPG
  • 尺寸: 3024x4032
  • 大小: 约1.2MB

版权声明

相关标签

自然风光 高清壁纸 4K画质

分享图片

相关推荐

基于当前图片的相似推荐

金刚柚木地板99 "产地东南亚,世界公认的著名珍贵木材,木材富含

嘉尔雅金刚柚木地板h20

美森官邸金刚柚木刺槐精选原木木纯实木地板卧室实木地板

金刚柚木原木地板本色9056

【实木】金刚柚木 020

柚木拼接 (10) - 达佑地板

柚木地板-实木地板系列 solid wood flooring-佛山无敌金刚--嘉华地板

bd7018金刚柚实木地板

金刚柚木地板怎么样 金刚柚木地板的优缺点

万木之王缅甸柚木地板纯实木人字拼野生锁扣地热三层超大板已售

bd7018金刚柚实木地板

随机推荐

发现更多精彩图片

套袋服务保密发货礼品包装套袋一件代发成人情趣用品私密发货

60张姓氏微信头像,精心制作,挑几张自己喜欢的吧

【警营芳华】警察蓝,无法抹去的颜色

麻辣大鸭腿卤味五香盐焗味鸡腿佬熟食即食真空肉类零食整箱两种口味

踏山河简谱 谱友园地

新品云南天麻籽500克包邮大粒天麻子天麻豆 非野生长寿豆鹰嘴豆

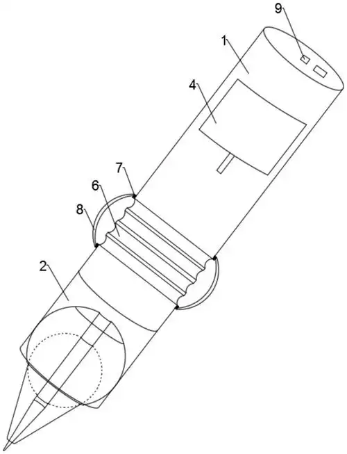
cn108621425b_一种多角度喷头的便携式3d打印笔

命中贵子痣长在哪里

1000个脑筋急转弯笑死你doc

喜马拉雅上的女性主播用声音打破世俗偏见

二十天左右,蚕宝宝又长大了,大约有2厘米长,食量开始增加,身体慢慢变