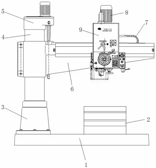
z37摇臂钻床的主要结构,运动形式和型号

高清图片下载 免费 安全无风险
z37摇臂钻床的主要结构,运动形式和型号

z37摇臂钻床的主要结构,运动形式和型号

点击图片查看原图

图片信息

  • 格式: JPG
  • 尺寸: 1080x810
  • 大小: 约1.2MB

版权声明

相关标签

自然风光 高清壁纸 4K画质

分享图片

相关推荐

基于当前图片的相似推荐

摇臂钻床结构说明图

cn209491359u_一种可精控钻深的变频无级调速摇臂钻床有效

伟途机床热销z3063摇臂钻床 z63摇臂钻轻松操作 经济实惠

摇臂钻床 z3040机械摇臂钻床 双立柱摇臂钻床 广速摇臂钻床厂家直销

项目二 摇臂钻床的电气控制ppt

z3050摇臂钻床的设计【说明书 cad】

z3040摇臂钻床的plc控制改造

z3050型_摇臂钻床使用说明书

一种新型改进结构的摇臂钻床的制作方法

随机推荐

发现更多精彩图片

7315202190年大吉大利!顺风顺水!健康快乐!平安喜乐!

2021最火背影图片女生头像高清2021年最漂亮的背影微信头像图片

复古水墨山水画平面素材

【巨胖cp】【毛不易×钟易轩】《猫比专用花式打歌》 巨星歌迷童颜叔

黄浦江里的无头女尸

生产舞台机械灯光吊杆参数

要是水箱没水了会怎么样?

工业loft咖啡馆3-展示台3d模型下载_展示柜3d模型下载_免费3dmax模型

100万块钱才这么大一堆儿?

民国风女装唐装禅意茶艺春夏复古改良文艺学生装汉服女中国风套装

火烧云 带你感受火辣辣的傣家菜魅力