水浴加热内外液面要平齐吗

高清图片下载 免费 安全无风险
水浴加热内外液面要平齐吗

水浴加热内外液面要平齐吗

点击图片查看原图

图片信息

  • 格式: JPG
  • 尺寸: 540x380
  • 大小: 约1.2MB

版权声明

相关标签

自然风光 高清壁纸 4K画质

分享图片

相关推荐

基于当前图片的相似推荐

这种加热方式叫作"水浴加热",目的是: ①使被加热的物质受热均匀; ②

海洋植物如海带,海藻中含有丰富的碘元素,碘元素以碘离子的形式存在.

用水浴法给东西加热

泳池泡池系列空气能热水器的原理

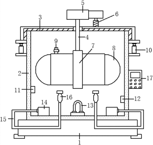
本实用新型涉及加热设备技术领域,尤其涉及一种水浴锅联动加水装置.

一种稳定性高的水浴加热装置的制作方法

一种化工反应用水浴加热装置

一种环境监测用水浴加热装置-爱企查

水浴法的加热原理图解

洗浴生活工业用水采用蒸汽与水箱水直接混合加热方案为广大用户解决了

一种生物化学实验用水浴加热反应装置的制作方法

一种离心管用水浴加热装置的制作方法

随机推荐

发现更多精彩图片

男生动漫头像 男生戴口罩的动漫头像~~没有故意耍帅哦,气质可是与生俱

龙湖停留休憩,形成成群聚集场面,给碧波荡漾的湖面增添了一道亮丽风景

襄阳市人民政府市长 秦军 各位代表: 现在,我代表市人民

餐厅装饰画创意酒杯墙画现代简约客厅挂画饭厅墙面装饰壁画水果画餐厅

怎么才能截出高清版的麦克雷q版头像 nga玩家社区

郝文斌被首都体育学院录取韩冬月被上海体育学院录取刘远兵被西安体育

2011年温州动车事故中失去父母幸存下来的小伊伊后来怎样了

69颜值派五彩缤纷的小梯子06

客家擂茶传承千年的非遗美食香飘万里的客家特色

厦门五中(厦门排名前十的小学,初中,高中)