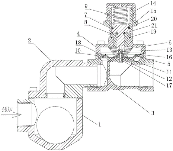
请问这个自动排气阀规格是多大呢

高清图片下载 免费 安全无风险
请问这个自动排气阀规格是多大呢

请问这个自动排气阀规格是多大呢

点击图片查看原图

图片信息

  • 格式: JPG
  • 尺寸: 1146x733
  • 大小: 约1.2MB

版权声明

相关标签

自然风光 高清壁纸 4K画质

分享图片

相关推荐

基于当前图片的相似推荐

连接自动排气阀的那段立管

自动排气阀下面的图例是什么

精选阀门自动排气阀图

如图自动排气阀的规格

各位老师这个图例是自动排气阀

浆体管道自动排气阀pq41f

cn2175855y_一种水暖自动排气阀失效

给水系统图里面这个自动排气阀一般距地高度多少?

一种自动排气阀的制作方法

cn209654715u_一种新型排气阀

随机推荐

发现更多精彩图片

1000 元代 釉里红草虫纹双耳瓶

江一燕《南京!南京!》剧照

男士发色分享奶茶灰棕色

孔雪儿刘雨昕一定要出道!

【ai cover】blackpink—rihanna《diamonds》

王子异纯白套装帅气写真图片

lol手游kda卡莎极清电脑壁纸

中国第32金!东奥女子体操平衡木决赛 管晨辰摘金唐茜靖夺银

最美诗词:《采莲曲》

大冒险惩罚大全pdf4页

半圆格子装饰墙上置物架搁板客厅儿童房幼儿园卧室少女心墙面书架

在家给宝宝拍的温馨满月照00