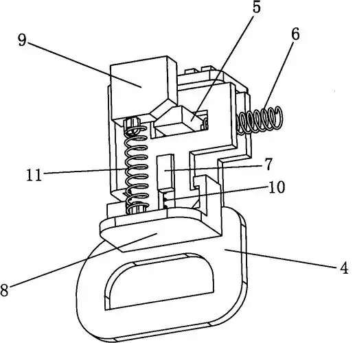
一种眼镜蛇插扣制造技术

高清图片下载 免费 安全无风险
一种眼镜蛇插扣制造技术

一种眼镜蛇插扣制造技术

点击图片查看原图

图片信息

  • 格式: JPG
  • 尺寸: 1000x557
  • 大小: 约1.2MB

版权声明

相关标签

自然风光 高清壁纸 4K画质

分享图片

相关推荐

基于当前图片的相似推荐

一种安全带装置的带扣

一种自动伸缩皮带扣

cn102525038a_一种安全带装置的带扣有效

304不锈钢滚轴扣皮带扣头3.5男无牙无孔自动扣裤腰带扣头3.8滚珠

一种按压式修正带的扣合结构的制作方法

cn1736287a_用于机动车辆座椅安全带的带扣有效

一种发光皮带扣-爱企查

cn305481843s_皮带扣(e2528)有效

5cm宽男士真皮皮带扣头3.0cm 3460【扣头】适用带条3.0cm

一种用于儿童安全带的安全卡扣的制作方法

随机推荐

发现更多精彩图片

裁切率性的潇洒7315 boss@任嘉伦allen黑色西装反差感造型来袭

专柜正品 台湾柏采窑 汝窑开片 老釉茶杯 福运杯 品茗杯 br106b

所以忍不住就画了这张画~#绘画 #涂鸦 #朴彩英 #blackpink

动漫头像 #野王 #渣男头像 #帅气男生头像 - 抖音

男性标准体重对照表,快来看看你达标了吗?超标就要减肥哦

朋友圈九宫格# #朋友圈文案# 二转注夏白纸

2021年新款早上好图片带字 早安问候图片大全 1,人生最难做到的是:只

太原垃圾清扫车厂区大型垃圾清扫车2017年东风福瑞卡纯吸式扫地车

简笔画独角兽独角兽怎么画简单又可爱

韩语表情包分享能发图就别好好说话哈哈哈

抱草机大中小型抓草机秋季火热订购红桥区