溶气气浮工艺原理解析

高清图片下载 免费 安全无风险
溶气气浮工艺原理解析

溶气气浮工艺原理解析

点击图片查看原图

图片信息

  • 格式: JPG
  • 尺寸: 577x246
  • 大小: 约1.2MB

版权声明

相关标签

自然风光 高清壁纸 4K画质

分享图片

相关推荐

基于当前图片的相似推荐

直销气浮溶气罐 高效卧式溶气罐效果好 不锈钢溶气罐 选华克莱

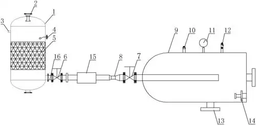
cn86209262u_卧式压力溶气装置失效

背景技术:现有的工业废水处理气浮溶气罐装置主要有立式溶气罐和卧式

溶气气浮 涡凹气浮 超声波气浮定制生产 溶气罐释放器刮渣机批发

北京某生产废水处理工程溶气罐图纸

气压罐工作原理图.jpg

溶气罐出来的溶气水,此时溶气罐的压力为0.3-0.

cn209367857u_一种用于气浮设备的溶气罐

cn105329968a_一种多级溶气罐有效

一种气浮机溶气罐的制作方法

溶气罐装置制造方法及图纸

cn105329969a_一种射流溶气装置失效

随机推荐

发现更多精彩图片

美丽美女,高清图片,手机锁屏桌面-壁纸族

有没有严浩翔和贺峻霖的cp神图? - 知乎

仙女少女心简笔画(仙女少女心简笔画图片 小女孩) - 盾灵网

认识的妻子资料页_娱乐资料库_新浪娱乐_新浪网

身上长了很多圆形的癣不痒有些起皮开始是个很小的圆慢慢扩大是什么

5本双男主现代异能文推荐(双男主纯爱小说)

乔振宇王倩一被称为模范夫妻 新剧剧照曝光引期待

二,苏州大学2022录取分数线(2023年参考)

世界征服者4得到沙漠之狐隆美尔

ai绘画壁纸未来人形酷炫机甲战士4k超清原图