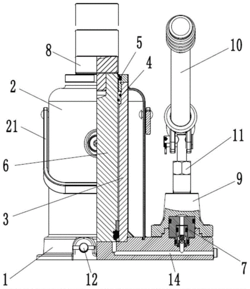
谁有螺旋千斤顶结构图

高清图片下载 免费 安全无风险
谁有螺旋千斤顶结构图

谁有螺旋千斤顶结构图

点击图片查看原图

图片信息

  • 格式: JPG
  • 尺寸: 800x613
  • 大小: 约1.2MB

版权声明

相关标签

自然风光 高清壁纸 4K画质

分享图片

相关推荐

基于当前图片的相似推荐

千斤顶装配图及零件图

cn86207680u_万向式液压千斤顶失效

阐述分离式千斤顶结构与特点

宝山千斤顶剖面图内部结构一目了然

cn2067702u_多功能的手动液压千斤顶失效

cn101565156a_电动液压千斤顶失效

习题 题型:作图题 题目:由给定的装配示意图和零件图,画千斤顶的装配

一种手动立式液压千斤顶的制作方法

一种汽车维修用的千斤顶的制作方法

随机推荐

发现更多精彩图片

自己的发型都越来越注重了,从一开始的马尾辫到花样百出的编织发型

大雄和机器猫简笔画哆啦a梦简笔画人物-坐地上的大雄卡通动漫简笔画

石涛山水画中的各类"书画船"坐在船里看到的风景跟在山里旅行看到的

假面骑士壁纸——ex-aid假面骑士壁纸系列(第四十五期)仁叔:在别人

dx假面骑士哉亚腰带闪金登场

原创声生不息第9期国风经典水中花你喜欢粤语还是国语版

五一假期去哪儿嗨赏花指南出炉啦

温心恬静写真出炉 - 单纯心意 - 单单纯纯的做你的小女人

成人魔法校车——油管知名搞笑up主smosh作品翻译搬运

呼吸器优质问答专区

扬州十大旅游景点排名有哪些?扬州:千年文化璀璨,自然美景如画