离婚一年后,再看赵丽颖冯绍峰婚变始末,分道扬镳的背后不简单

高清图片下载 免费 安全无风险
离婚一年后,再看赵丽颖冯绍峰婚变始末,分道扬镳的背后不简单

离婚一年后,再看赵丽颖冯绍峰婚变始末,分道扬镳的背后不简单

点击图片查看原图

图片信息

  • 格式: JPG
  • 尺寸: 720x1280
  • 大小: 约1.2MB

版权声明

相关标签

自然风光 高清壁纸 4K画质

分享图片

相关推荐

基于当前图片的相似推荐

赵丽颖冯绍峰结婚,微博瘫了!网友:我在美图秀秀得知这个消息

赵丽颖冯绍峰结婚照片曝光网友公费结婚连微博头像也换成情侣款

赵丽颖冯绍峰结婚照

赵丽颖冯绍峰离婚赵丽颖最后也没等到一场婚礼冯绍峰娱乐

赵丽颖冯绍峰官宣结婚晒证 名下共14家公司女方年收入过亿

官宣了78赵丽颖和冯绍峰结婚!领证现场照大曝光!

赵丽颖冯绍峰结婚值多少钱

赵丽颖冯绍峰婚纱照被疯传?两人穿红色喜服,网友无法淡定

任焕霄赵丽颖冯绍峰官宣02领证结婚就差唐嫣刘亦菲倪妮了

赵丽颖冯绍峰结婚,品牌借势文案炸了!

冯绍峰和赵丽颖拍婚纱照了哦

赵丽颖哭了,冯绍峰的做法让人暖心__凤凰网

随机推荐

发现更多精彩图片

彩铅画 | 一组观赏鱼彩铅画,值得临摹学习

王菲新造型曝光!留着谢霆锋样式的发型,手腕上还有超细的手链

手绘 插画 线稿 手稿 黑白素材

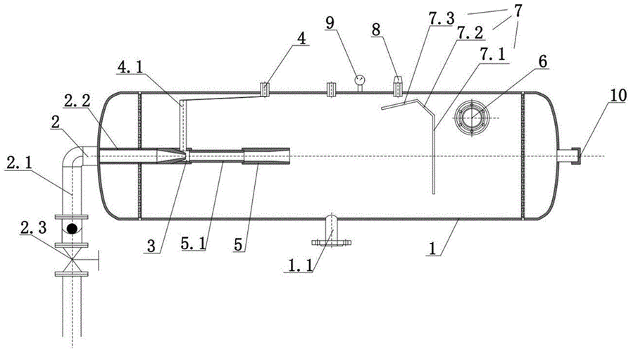
一种气浮机溶气罐的制作方法

企购优品防尘眼镜软边透明玻璃镜片防砂防灰尘打磨劳保护目镜

苏州仓储篷房出租苏州仓储帐篷出租张家港仓储帐篷搭建

100个关键词回顾党史100年

周边问世间情为何物港产映画第二弹ligodesigntikkafr

湘菜小炒黄牛肉的家常做法湘菜小炒黄牛肉的做法大全家常

来看细节满满,牡丹常盛的菏泽东站|牡丹花|鲁南高铁|菏泽

艾雷王的五种形态都有哪些?