窄框白蜡木清新词字画书法实木相框摆台挂画客厅卧室装饰画定制

高清图片下载 免费 安全无风险
窄框白蜡木清新词字画书法实木相框摆台挂画客厅卧室装饰画定制

窄框白蜡木清新词字画书法实木相框摆台挂画客厅卧室装饰画定制

点击图片查看原图

图片信息

  • 格式: JPG
  • 尺寸: 2200x2200
  • 大小: 约1.2MB

版权声明

相关标签

自然风光 高清壁纸 4K画质

分享图片

相关推荐

基于当前图片的相似推荐

傅继英书法:家和业兴

自粘墙贴新中式卧室装饰画客厅墙壁画新款书房书法文字贴画防水#

这幅书法作品太棒了!我把它挂在卧室墙上,每天看到都会被激励

上热门🔥 习字《室雅蘭香》,适合客厅,卧室悬挂的书法作品

十字绣字画小件竖版书法简单手工书房卧室2025线绣新款小幅自己绣

卧室家居我推荐这一组书法,既可以挂墙也可以做创意摆台

卧室适合挂什么画 和谐好寓意就选书法字画

0元玩转这座城 四字吉语书法悬挂在房间

卧室书房我推荐这三幅书法

行书丨刘禹锡《陋室铭》丨书房客厅装饰 分享我的练字日常,原创书法

卧室书房不能错过的一幅书法

年也过完了,快来装修一下自己的卧室吧#我要上热门 #原创书法

随机推荐

发现更多精彩图片

存钱罐 熊猫卡通纸箱模型 变废为宝废物利用 纸壳手工瓦楞纸儿童

三生三世十里桃花玄女祝绪丹

诗词:人生看来都爬山,只是目的差千万

对过去说再见的一句话对过去说再见的句子推荐

安徽颍上徽韵皖北水乡锦绣风光八里河

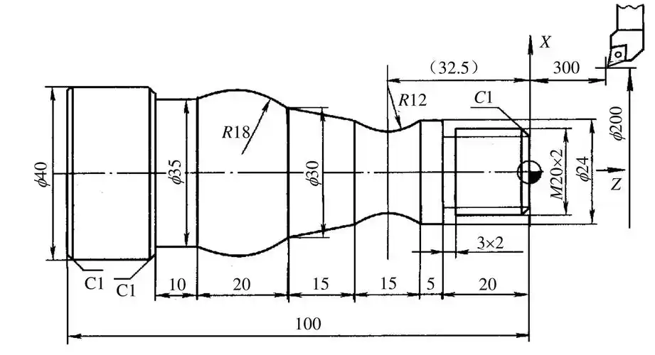
模具零件的数控车削加工程序编制实例

预订 hijacked by hackers be afraid 9781539525080

可爱龙猫简笔画画法图解

新中式风格,现代风格,轻奢风格,贵阳别墅装修设计,贵阳星艺装饰,贵阳

创宁鱼缸造浪泵吹粪抽粪超静音变频冲浪磁铁吸盘造流泵粪便环流泵

海滩·日落·壁纸·风景.人间骄阳无限好 落日余晖映眼帘 日暮 - 抖音