常见机械结构图ppt

高清图片下载 免费 安全无风险
常见机械结构图ppt

常见机械结构图ppt

点击图片查看原图

图片信息

  • 格式: JPG
  • 尺寸: 1080x810
  • 大小: 约1.2MB

版权声明

相关标签

自然风光 高清壁纸 4K画质

分享图片

相关推荐

基于当前图片的相似推荐

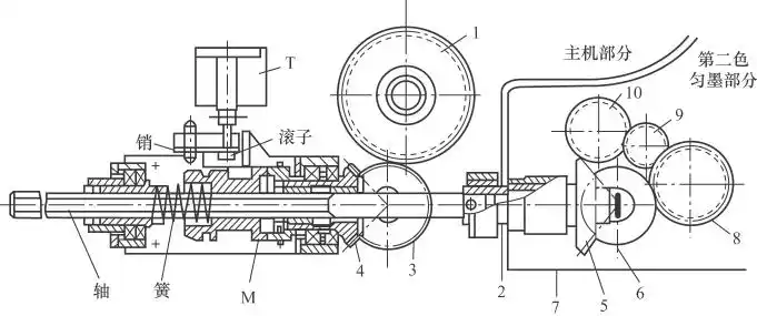
图2-14为j2203,j2205胶印机第二色组的机械离合器结构图.

机械结构设计作品欣赏:机械沙漏

【机械设计】机械设计课程设计第一讲:传动方案与参数计算

免费文档 所有分类 工程科技 机械/仪表 圆柱凸轮机构_设计_结构计算

25 曲柄飞轮组成结构曲轴一般用中碳钢,中碳合金钢模锻而成,也可用

800套经典机械结构设计非标自动化solidworks模型库sw机构3d图纸

经典斜齿轮加工传送输送机整体节结构

经典车床ca6140手绘图,有利于认知其结构!

分类 高中教育 语文 > 铰链四杆机构 (精品 课件 素材)机械设计基础

这些机械设计的简单题,还会否?喊一句:廉颇老矣,尚能饭否?

随机推荐

发现更多精彩图片

可爱的,动物的巢,卡通,鸡,篮子正版矢量图素材下载

飒飒的美貌06080593@华晨宇yu #2024华晨宇火星演唱会

神雕中独孤求败有一个徒弟被忽略,武功太高吓到耶律齐,不是杨过

43岁陈数百变西装造型来袭,化身职场女强人,气场霸气

日本樱花照片好美 这份国内赏樱秘籍收好不谢

最美农村别墅 #农村别墅图纸 #现代别墅 别墅设计图纸豪华 - 抖音

日记一则——难忘的线上教学

可爱小猪表情包-见过那么多猪 还是你最可爱

沃尔玛重庆路店也要撤出长春了,现在超市内货品已经不全了,听说8月末

蓝天官道幼儿园小小传承人美工课《西游记皮影戏》