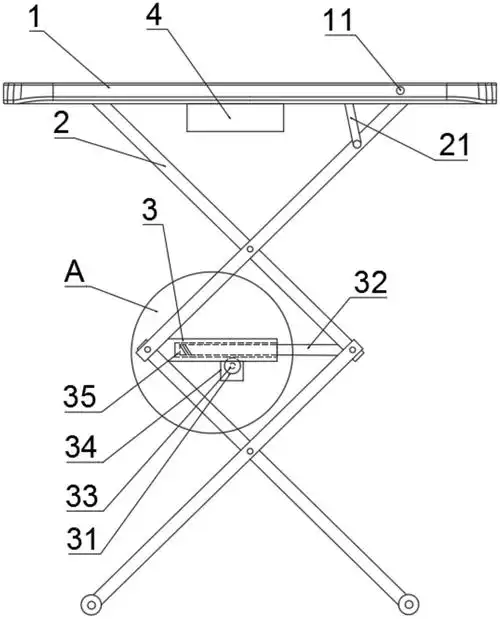
背景技术:折叠桌的桌板与桌腿转动铰接,不使用的时候可以收起桌板,靠

高清图片下载 免费 安全无风险
背景技术:折叠桌的桌板与桌腿转动铰接,不使用的时候可以收起桌板,靠

背景技术:折叠桌的桌板与桌腿转动铰接,不使用的时候可以收起桌板,靠

点击图片查看原图

图片信息

  • 格式: JPG
  • 尺寸: 660x1000
  • 大小: 约1.2MB

版权声明

相关标签

自然风光 高清壁纸 4K画质

分享图片

相关推荐

基于当前图片的相似推荐

折叠桌家用餐桌吃饭桌简易4人饭桌小方桌便携户外摆摊正方形桌子

餐桌脚架简约折叠桌腿支架折叠桌架铁桌脚架子折叠圆桌子支架 连板

一种组合式折叠桌-爱企查

铝合金蛋卷桌郊游sunnyfeel山扉折叠桌户外探险者蛋卷桌露营野餐桌

7的实用新型公开了一种折叠桌,由桌面,两面折叠桌腿,横档,桌面联接件

一种多功能的可拆卸折叠桌的制作方法

桌子 简易家用饭桌 麻将桌 方圆两用大圆桌方桌 喷涂桌腿 jz-261折叠

gatelegtable折叠桌第四版桌腿了继续

桌腿脚折叠支架连接件书桌90度自锁折叠桌腿铰链合页桌脚五金配件彩锌

一种可组装多功能折叠桌的制作方法

一种可电动调节高度的折叠桌

随机推荐

发现更多精彩图片

徐州总体规划高清大图公布,信息量超大

犬夜叉优质头像 动漫(杀生丸)

北太平洋巨型章鱼和它的卵.

黄河源头的泉眼,仅碗口大小,不能靠近有专人24小时守护

去年的十二生肖表 去年的十二生肖表格图片

美国立顿 3.5转双6.5大两芯音频线一分二电脑调音台连接线

出21年42000公里的奔驰c260双门轿跑

阿尔法商务车多少钱(2020年11月底) - 价格百科

套装打鼓演出服中国风广场舞服装秧歌服女2023新款秧歌舞演出服装

us sec fines citibank more than $38 mn for a