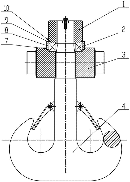
一种桥式起重机吊钩组结构

高清图片下载 免费 安全无风险
一种桥式起重机吊钩组结构

一种桥式起重机吊钩组结构

点击图片查看原图

图片信息

  • 格式: JPG
  • 尺寸: 664x1000
  • 大小: 约1.2MB

版权声明

相关标签

自然风光 高清壁纸 4K画质

分享图片

相关推荐

基于当前图片的相似推荐

起重吊钩的结构组成及功能

耐用16t双梁起重机吊钩组 龙门吊吊钩组 电动葫芦吊钩 非标定制

cn112811305a_一种起重机用自锁吊钩有效

cn202609777u_吊钩总成的防尘结构失效

一种吊装装配式建筑预制构件用吊钩

一种新型吊钩组的制作方法

一种新型单滑轮吊钩组-爱企查

各吨位吊钩组图纸cad(原创)_装配图网

电动双梁起重机32t50t吊钩组汇总

随机推荐

发现更多精彩图片

素描手绘(依然范特西)【周杰伦】

梦幻冰紫色星空少女头像古风

田亮妻子厨房写真俏皮_高清图集_新浪网

壁纸ipad各种风格 壁纸图片大全墙纸唯美

海豹爱摆拍捧腹大笑网络爆红动物搞笑卖萌大盘点

希望以后能变成98#鳄龟

nokia诺基亚8800滑盖手机商务老款原装全钢金属经典怀旧手机金色2电池

世界上最搞笑的创意乌龟搞笑图片集

健康生活壁纸图片-素材-模板在线设计制作-千库编辑

从地图看三国的演变:从东汉末年的割据到西晋的短暂统一