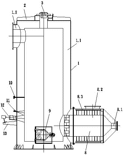
网友"李钊大哥"的二次燃烧柴气炉尺寸结构分解图

高清图片下载 免费 安全无风险
网友"李钊大哥"的二次燃烧柴气炉尺寸结构分解图

网友"李钊大哥"的二次燃烧柴气炉尺寸结构分解图

点击图片查看原图

图片信息

  • 格式: JPG
  • 尺寸: 400x533
  • 大小: 约1.2MB

版权声明

相关标签

自然风光 高清壁纸 4K画质

分享图片

相关推荐

基于当前图片的相似推荐

一种二次燃烧的节能锅炉的制作方法

网友"李钊大哥"的二次燃烧柴气炉尺寸结构分解图

筷子筒做的柴火炉燃烧效果不错

一种二次燃烧炉制造技术

这类烧柴灶点火困难,时间长,污染大,在燃烧时炉内空气量

二次燃烧高效采暖炉的制作方法

口加到炉膛内的炉篦上,通过一次风道点燃颗粒燃料,待颗粒燃料燃烧后

燃烧炉二次燃烧方法与流程

magmamini2最轻帐篷柴火炉二次进气钛炉

一种二次进风高效节能炉制造技术

多功能柴火气化炉 生火快速,效果展示,气化炉二次燃烧节能省柴02

随机推荐

发现更多精彩图片

如何自制生日贺卡如何自制贺卡

"做兄弟在心中,多少人的青春记忆".#郑伊健 #古惑仔 #陈浩南

这几天胸部胀胀的就像是二次发育一样,这种感觉真的很_圈子-新氧美容

景甜取关张继科,引发娱乐圈热议

戚迹携《暴雨梨花》中的两任妻子抵沪宣传

创意小面馆美食logo设计

餐厅灯真的要好好选,不是非要一根棍儿一字一条的如果 - 抖音

汉中门城门前的庆祝建党100周年雕塑.

4种受欢迎的双眼皮形状,平行型公认最好看,平扇形颜值高,你呢

原创济南陵园网:济南公墓陵园价位不同差别在哪里