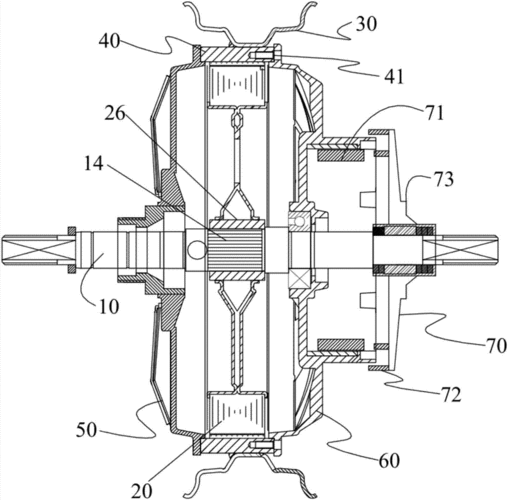
车驱动系统以及两轮电动车,包括通电连接的电机,控制器和散热固定结构

高清图片下载 免费 安全无风险
车驱动系统以及两轮电动车,包括通电连接的电机,控制器和散热固定结构

车驱动系统以及两轮电动车,包括通电连接的电机,控制器和散热固定结构

点击图片查看原图

图片信息

  • 格式: JPG
  • 尺寸: 1827x1799
  • 大小: 约1.2MB

版权声明

相关标签

自然风光 高清壁纸 4K画质

分享图片

相关推荐

基于当前图片的相似推荐

cn212447099u_电动车的驱动轮的驱动结构有效

电动车的驱动轮的驱动结构的制作方法

车轮驱动结构及具有其的电动车

一种电动车驱动系统以及两轮电动车的制作方法

一种运动平稳的电动车轮及其密封结构的制作方法

一种自驱动电动汽车车轮的制作方法

电动车电机是将电池电能转换机械能,驱动电动车轮旋转的部件.

小龟王电动车完整3d图三维模型xgw0300后轮轮总成英文版modelpdf

cn103661760a_电动自行车的驱动结构失效

国内外纯电动汽车电驱动系统高清图片120张

电动车结构电力驱动及控制系统,驱动能源电池,驱动电机等.

cn208882023u_一种应用于四轮独立驱动电动车的半主动悬架结构有效

随机推荐

发现更多精彩图片

朱亚文九牧王品牌代言人

哄娃神器一秒止哭大行儿童车助力萌宝新年出行

ins风松果棉花跨境仿真花厂家绿植物假花批发婚庆装饰品mw61208

oppo手机最新款2021新上市oppo最新款机型参数和测评

拔罐指南罐印颜色禁忌人群注意事项

国学礼仪之-抱拳-拱手-作揖-万福-跪拜ppt课件

jojo特莉休是作品里最大的遗憾唯一一个力速双a的女角色

鱼缸过滤棉的正确使用方法

《vc像素画(vc pixelart)》数码宝贝图鉴(00406)阿卡迪兽:完全体

百合控最爱的青春剧泰剧荷尔蒙走心又走肾