抓图库
专业素材库
首页
热门图片
图片分类
图组推荐
VIP专区
登录
首页
热门图片
图片分类
图组推荐
VIP专区
登录/注册
北京中国国贸街景
高清图片下载
免费
安全无风险
北京中国国贸街景
点击图片查看原图
免费下载
VIP加速
图片信息
格式:
JPG
尺寸:
2000x3546
大小:
约1.2MB
版权声明
相关标签
自然风光
高清壁纸
4K画质
分享图片
微信
微博
QQ
相关推荐
基于当前图片的相似推荐
换一批
治愈生活蓝皮叔 的想法: 漂亮的北京街景~东四北大街!
查看详情
治愈生活蓝皮叔 的想法: 漂亮的北京街景~东四北大街!
北京街景
查看详情
北京街景
北京今年谁家街巷最好看请您来评选
查看详情
北京今年谁家街巷最好看请您来评选
北京三里屯街景实拍人流量22年12月元旦前一天
查看详情
北京三里屯街景实拍人流量22年12月元旦前一天
【前门街景摄影图片】北京纪实摄影_大华_太平洋电脑网摄影部落
查看详情
【前门街景摄影图片】北京纪实摄影_大华_太平洋电脑网摄影部落
北京街头
查看详情
北京街头
北京街景拍照
查看详情
北京街景拍照
街景
查看详情
街景
北京图片
查看详情
北京图片
北京市朝阳区街景
查看详情
北京市朝阳区街景
北京街景:国贸
查看详情
北京街景:国贸
北京什刹海 银锭桥 烟袋斜街 鼓楼 南锣鼓巷沿途街景
查看详情
北京什刹海 银锭桥 烟袋斜街 鼓楼 南锣鼓巷沿途街景
随机推荐
发现更多精彩图片
换一批
手势比心表情包_比心_手势表情 - 发表情 - fabiaoqing.com
查看详情
手势比心表情包_比心_手势表情 - 发表情 - fabiaoqing.com
金钟仁金钟仁金钟仁的小熊饲养基地-娱乐视频-搜狐视频
查看详情
金钟仁金钟仁金钟仁的小熊饲养基地-娱乐视频-搜狐视频
吃火锅啦~~火锅简笔画来喽 火锅简笔画来喽
查看详情
吃火锅啦~~火锅简笔画来喽 火锅简笔画来喽
2021年最后一个作品_纹身图案手稿图片_赤艺的纹身作品集
查看详情
2021年最后一个作品_纹身图案手稿图片_赤艺的纹身作品集
什么是温度筋
查看详情
什么是温度筋
【东方时代·新片】9年的时间,等到了昊然弟弟的《驯龙高手3》
查看详情
【东方时代·新片】9年的时间,等到了昊然弟弟的《驯龙高手3》
人造琥珀手链图片
查看详情
人造琥珀手链图片
通用名:阿昔洛韦凝胶商品名:编码:17003522生产厂家:黑龙江天辰药业
查看详情
通用名:阿昔洛韦凝胶商品名:编码:17003522生产厂家:黑龙江天辰药业
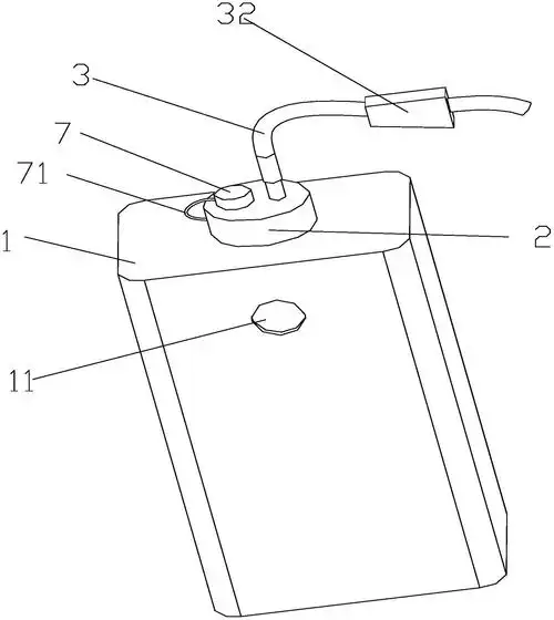
一种胸腔引流用水封瓶
查看详情
一种胸腔引流用水封瓶
扁平杜鹃花
查看详情
扁平杜鹃花
一张图教你看懂四合院
查看详情
一张图教你看懂四合院
中华田园猫丨黑白花猫(奶牛猫)
查看详情
中华田园猫丨黑白花猫(奶牛猫)