新手画画调色教程黄色系调色教程秋天色

高清图片下载 免费 安全无风险
新手画画调色教程黄色系调色教程秋天色

新手画画调色教程黄色系调色教程秋天色

点击图片查看原图

图片信息

  • 格式: JPG
  • 尺寸: 906x1209
  • 大小: 约1.2MB

版权声明

相关标签

自然风光 高清壁纸 4K画质

分享图片

相关推荐

基于当前图片的相似推荐

怎样鉴别生地黄和熟地黄

通过调查得知泥土不仅有不同的种类,质地,还有不同的作用,黄土可以盖

泥土里的小秘密——更楼中心幼儿园大班"神奇的大自然"主题资源推荐

生地黄和熟地黄究竟有什么区别?很多人弄错了,不妨了解下

焦作特产四大怀药,鲜地黄,焦作鲜地黄,生地黄,熟地黄,地黄

秋天来了,正是 姜黄色展示魅力的时刻,如暖阳一般柔和的 姜黄色明朗

冀人版2017秋四年级科学下册12沙质土黏质土和壤土课件共13张ppt

全面认识色彩系列之黄色配色篇

试色对比系列30之哑光黄调打底色

展示与对比:家居家具美容修补漆色粉修色粉维修材料套装颜色色粉木器

随机推荐

发现更多精彩图片

戚薇才是机场穿搭一姐,驼色大衣搭配棒球帽,演绎不费劲的时髦

男生染什么颜色头发好看适合男生染的5款发色

牛仔短裤三分裤 超短中裤原宿潮流时尚休闲男夏天3分裤子青年 深蓝色

ipad绘画 #古风q版人物 #古风水彩

ai绘画:未来战争(天使机甲)

斯派克父子绝了,就知道和儿子吹牛皮,看守什么东西都看不住!

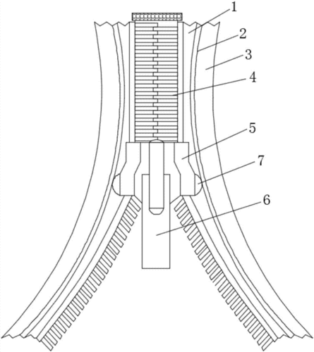
一种新型拉链制造技术

「秒懂百科」一分钟了解北京海洋馆

院区内,一张张标准蓝色交通指引牌,可指引您顺畅到达您想去的楼座.