何洛洛超话/#wink狙击手何洛洛#漂亮哥哥冲啊!@易安音乐社-何洛洛

高清图片下载 免费 安全无风险
何洛洛超话/#wink狙击手何洛洛#漂亮哥哥冲啊!@易安音乐社-何洛洛

何洛洛超话/#wink狙击手何洛洛#漂亮哥哥冲啊!@易安音乐社-何洛洛

点击图片查看原图

图片信息

  • 格式: JPG
  • 尺寸: 690x1035
  • 大小: 约1.2MB

版权声明

相关标签

自然风光 高清壁纸 4K画质

分享图片

相关推荐

基于当前图片的相似推荐

公益活动何洛洛写真2018年8月随易安音乐社作为"正能量偶像"参加第

新年快乐 我的画家人7815 #易安音乐社 #何洛洛 #孙亦航 - 抖音

着迷得无可救药@易安音乐社-何洛洛

狙击手何洛洛#"毫无魅力""只凭着一张完美的脸蛋"@易安音乐社-何洛洛

超话/#wink狙击手何洛洛#星星也愿意为你守候@易安音乐社-何洛洛

快播了再给r1se何洛洛盖个楼易安时期

超话/#wink狙击手何洛洛#星星也愿意为你守候@易安音乐社-何洛洛

易安音乐社提及何洛洛(易安音乐社何洛洛最火)(13)

易安音乐社出道两年何洛洛成团出道迎来最大的难题

何洛洛超话/#甜心轰炸机何洛洛#何 m c@易安音乐社-何洛洛

狙击手何洛洛#"毫无魅力""只凭着一张完美的脸蛋"@易安音乐社-何洛洛

随机推荐

发现更多精彩图片

泽漆外形很特别,因为植株在顶端长出五朵类似花朵的分枝,看起来有些像

女明星-黑色紧身皮衣-搜查官系列图片分享_文文_身材_迪丽热巴

简笔画小人简笔画小人可爱女生

在背景下用点心和模糊的打开书和绿色植物在混凝土桌上用白色茶壶的热

【双北】需要与被需要(一发完)

一个220v交流接触器,99分钟的的时间继电器,和一个停机按钮,一个启动

舞狮头 传统舞狮全套 南狮 醒狮 全澳洲羊毛 佛装舞狮子狮头 大红(一

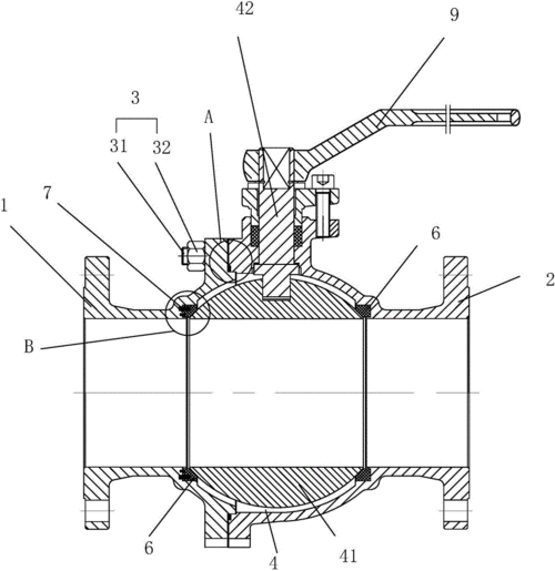
一种软密封球阀制造技术

5.21新区职工登山活动,约你参加!