一种扩宫棒固定装置的制作方法

高清图片下载 免费 安全无风险
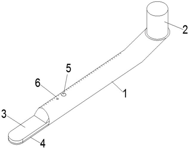
一种扩宫棒固定装置的制作方法

一种扩宫棒固定装置的制作方法

点击图片查看原图

图片信息

  • 格式: JPG
  • 尺寸: 1530x1730
  • 大小: 约1.2MB

版权声明

相关标签

自然风光 高清壁纸 4K画质

分享图片

相关推荐

基于当前图片的相似推荐

扩宫术,你不知道的"小秘密"

一次性使用宫腔吸引管人流管套装子宫探针刮匙扩宫棒宫颈钳独立装 ii

产科用子宫颈扩张器 贝莱沃牌产科扩宫棒 不锈钢扩宫器 - 爱企查

新华医疗子宫颈扩张器 山东新华扩宫棒 扩宫器 扩宫条

宫腔镜是否需要扩宫对宫颈机能有没有影响

宫颈扩张器尖圆头不锈钢扩宫条扩宫棒3号-16号子宫口扩张棒 zg109r

医用子宫颈扩张器金钟妇科不锈钢扩宫棒扩宫条3.5号-9.

医用子宫颈扩张器金钟妇科不锈钢扩宫棒扩宫条3.5号-9.

一次性使用宫颈扩张棒海藻头扩宫棒

刮宫手术怎么做的过程,真的后怕

一种妇产科用扩宫器的制作方法

随机推荐

发现更多精彩图片

寸头适合什么脸型 完美驾驭硬汉风-男生发型图片-发型站_最新流行发型

2023年最新爱情片《此时此刻》终于来了,由郭雪芙担任主演

国色天香牡丹画 兰心蕙质写人生——宋余蕾的艺术人生

飞花令里读诗词——"山月"

圆寸染发丨今天是红发正装少年

号外:《英雄联盟》多个至臻皮肤可能泄露!

原创 解读86版《西游记》片头,无法复制的经典,两个字:完美

b限鹿乃直播杂谈已结束

花样菏泽,四季有花_牡丹_木瓜_芍药

过道吊顶方形好看还是菱形好看 4款入户过道走廊吊顶造型尺寸设计图

湖北名菜粉蒸肉,切记不要直接蒸,教你2招,肥而不腻入口即化

客厅挂四条屏国画可以吗郑晓京吉祥花鸟画旺财镇宅寓意好