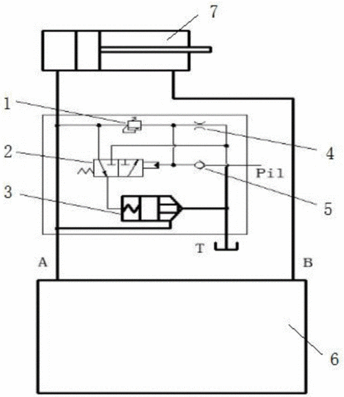
一种双压卸荷阀制造技术

高清图片下载 免费 安全无风险
一种双压卸荷阀制造技术

一种双压卸荷阀制造技术

点击图片查看原图

图片信息

  • 格式: JPG
  • 尺寸: 1000x937
  • 大小: 约1.2MB

版权声明

相关标签

自然风光 高清壁纸 4K画质

分享图片

相关推荐

基于当前图片的相似推荐

液压密封件中的二位二通换向阀卸荷回路结构图

一种汽车及工程机械制动系统的卸荷阀-爱企查

谁懂图中这个力士乐卸荷阀

cn211501147u_超高压大流量高水基的卸荷阀有效

智造概论|小松pc挖掘机卸荷阀的构造及工作原理的详细讲解

cn203098442u_一种节能型优先卸荷阀失效

液压系统卸荷阀的选择问题

闭式系统用卸荷阀的结构与工作原理

挖掘机油缸用回油卸荷阀制造技术

液压驱动水压试验高压卸荷阀制造技术

随机推荐

发现更多精彩图片

耳返带在张艺兴的耳朵上就显得如此特别

巨蟹座可爱头像唯美头像6

正品3m7502防尘口罩面具面罩硅胶防毒有机蒸气防电焊烟防酸性气体

动漫中让你瞬间喷饭的颜艺每个都可以拿来做表情包

汪汪队立大功原来动画片演的是真的

静态是最难画的.从习惯思考到习惯不思考,是一段很长很长的路

江西铜业集团有限公司劳模创新工作室设计方案

中国肝胆外科之父吴孟超逝世曾为女婴摘除重达600克的癌瘤

陶土色大便到底什麼颜色,是不是这个就是陶土色