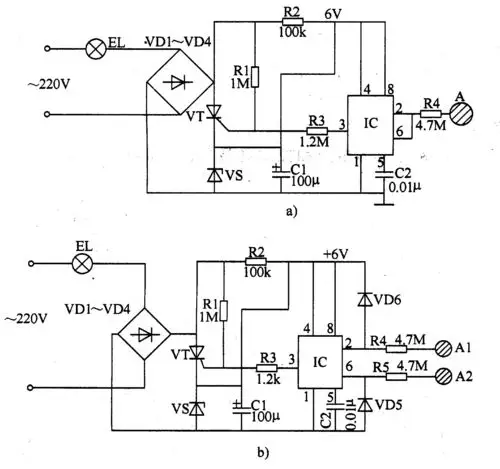
使用双d触发器,设计触摸开关电路

高清图片下载 免费 安全无风险
使用双d触发器,设计触摸开关电路

使用双d触发器,设计触摸开关电路

点击图片查看原图

图片信息

  • 格式: JPG
  • 尺寸: 640x296
  • 大小: 约1.2MB

版权声明

相关标签

自然风光 高清壁纸 4K画质

分享图片

相关推荐

基于当前图片的相似推荐

各位我要单键触摸式开关的电路图

触摸开关传感器原理图

cn202004742u_一种触摸开关电路失效

简单可靠的触摸控制开关

化妆镜浴室镜触摸开关技术原理及方案设计介绍

电阻式触摸传感器的工作原理.| 图源:bp.blogspot.com

触摸式电子开关电路图

触摸式电子开关电路三

三极管组成的触摸开关电路

触摸开关原理是什么?

随机推荐

发现更多精彩图片

植村秀琥珀臻萃黄金卸妆油洁颜油450ml温和刺激卸妆

中国超模闪耀维密秀 刘雯霸气何穗甜美奚梦瑶活力十足 - 星辰影院

徐峰jason(演员,模特)1.92米/水瓶座

不喜勿点!诺天王晒前队友严重变形脚趾:堪比恐龙

农村五层别墅外观效果图含全套自建房设计图纸,高端大气上档次!

早期这11位名校校花的颜值不得不服个个千娇百媚倾国倾城

蜡烛吹灭许愿gif动图_动态图_表情包下载_soogif

徐佳老婆照片是谁(徐佳个人资料老婆) – 抖音库

早产女孩fenton生长曲线图