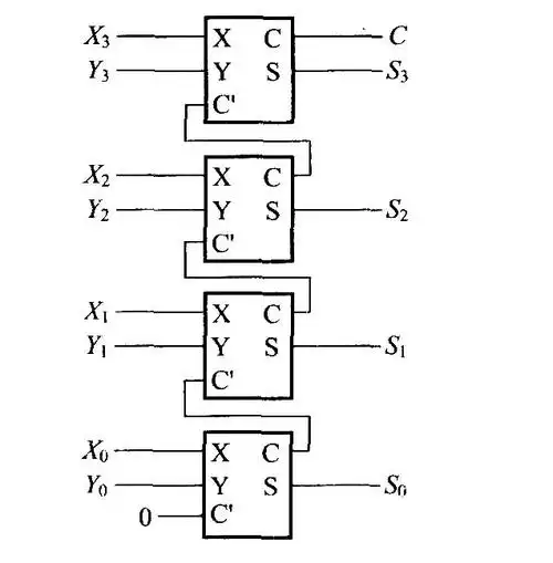
利用全加器构成3位加法计数器( 要有电路图的)

高清图片下载 免费 安全无风险
利用全加器构成3位加法计数器( 要有电路图的)

利用全加器构成3位加法计数器( 要有电路图的)

点击图片查看原图

图片信息

  • 格式: JPG
  • 尺寸: 1488x525
  • 大小: 约1.2MB

版权声明

相关标签

自然风光 高清壁纸 4K画质

分享图片

相关推荐

基于当前图片的相似推荐

在verilog语言中使用门级建模设计一个由1位全加器组成的4位全加器

带超前进位的四位全加器

rtl基本知识:全加器设计(vhdl)

实验一1位全加器设计.doc

使用全加器的4位加法运算电路

求用两片74ls138设计一个全加器的电路图?

设计一个数字逻辑中的全加器,要求有实验原理,函数表达式,卡诺图,逻辑

数字电路设计1加法器

一种亚阈值抗噪声的全加器电路

随机推荐

发现更多精彩图片

手写文字 摘录 古风 情感 短句 唯美 文字控 伤感 歌词 经典 文字句子

盘点全球女军人 哪国最美?--中国广播网

钻石什么样的切工更闪75

法国电影《虎口脱险》丨高卢鸡嘲讽战争,岂不知覆巢之下已无完卵

阳朔最美古桥 富里桥 - 轻摄影 - 一加手机社区官方论坛

萤火之森触不到的爱恋

拉丁舞【牛仔完整版】墨茉组合真的太有魔力了,看

第1页 幼儿园春节简笔画糖葫芦试着将春节里热闹的场景画简笔画

成吉思汗的陵墓真的找到了美国带高科技来盗墓最后却狼狈离去

极简超薄高级感ins风打火机防风酷炫绿火 - 抖音