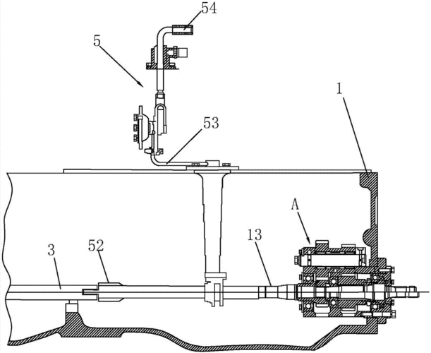
拖拉机前置动力输出机构

高清图片下载 免费 安全无风险
拖拉机前置动力输出机构

拖拉机前置动力输出机构

点击图片查看原图

图片信息

  • 格式: JPG
  • 尺寸: 800x498
  • 大小: 约1.2MB

版权声明

相关标签

自然风光 高清壁纸 4K画质

分享图片

相关推荐

基于当前图片的相似推荐

东方红拖拉机传动系-动力输出

图1 双轴头动力输出轴结构同步转速式动力输出轴的转速与拖拉机行驶

拖拉机动力输出系统ppt

拖拉机动力输出系统ppt

东方红拖拉机传动系-动力输出

拖拉机动力输出总成的传动机构的制作方法

拖拉机动力输出系统ppt

东方红拖拉机传动系-动力输出

东方红拖拉机传动系-动力输出

一种拖拉机动力输出装置的制作方法

一种用于拖拉机动力输出轴的湿式离合器输出结构

随机推荐

发现更多精彩图片

性感的女模特图片-性感的长发卷发女模特素材-高清图片-摄影照片-寻图

小女孩不会打乒乓球,两次都打到了对方的脸上,这下可怎么办呢?

关东微喜剧:老汉饭店吃饭,都是脚臭惹的祸,太搞笑了

夏日荷花儿童画创意画步骤 96《夏日荷花》 儿童画100幅打卡:13/100

大自然表情包 猫头鹰 崩溃,但是还是那么萌 看我的大蓝眼睛 对眼 无话

面部肌肉位置浅表,起自颅骨的不同部位,止于面部皮肤,主要分布于面部

猪猪侠简笔画步骤儿童

隐世华族:我是阴谋的策划者,只有你,请把我当作你的守护者

儿童画教程|中国神奇的传统艺术《川剧变脸》

张芝华,1958年生,上海人,中国电影演员.

千年灵芝——水墨画#国画 #一起学画画 #画画96 #爱画画 - 抖音

江阴要塞起义,司令:合着就练就我一个人,7000人就