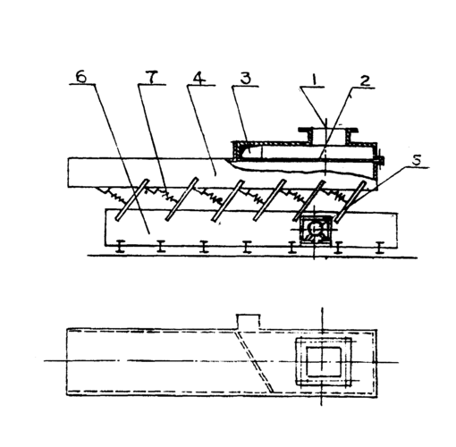
惯性筛工作机构如图1所示惯性筛的工作机构原理,是双曲柄机构的应用

高清图片下载 免费 安全无风险
惯性筛工作机构如图1所示惯性筛的工作机构原理,是双曲柄机构的应用

惯性筛工作机构如图1所示惯性筛的工作机构原理,是双曲柄机构的应用

点击图片查看原图

图片信息

  • 格式: JPG
  • 尺寸: 890x527
  • 大小: 约1.2MB

版权声明

相关标签

自然风光 高清壁纸 4K画质

分享图片

相关推荐

基于当前图片的相似推荐

如图所示,一大筛机的原理图,试分析其自由度

一种惯性振动筛机构的制作方法与工艺

早点看到这些动态图,机械原理课程肯定满分

摇摆筛是为了满足大产量,高精度筛分需求而特殊设计的一种高效振动筛

1.简单惯性式圆振动筛

cn2122136u_惯性振动筛分输送机失效

四杆机构-惯性筛机构 教学用素材-教育-高清完整正版视频在线观看

随机推荐

发现更多精彩图片

魏大勋秦岚要结婚了?两人同居生活曝光,粉丝集体脱粉.

徐峥|曝徐峥陶虹逃离出境,携带8.2亿资产被美国银行冻结

花瓶怎么画花瓶怎么画好看又简单

苗刀刀法它集中了刀,枪两种冷兵器的特点,既能当枪,矛刺击,又能当刀劈

车窗外 #城市的夜晚 #愿所得皆所期 希望九月的秋风能吹来 - 抖音

【美国进口托罗(toro)psn系列散射喷头】图片

潘安复原图各种各样,你们喜欢哪一种呢()

写美篇这个就是骨,骨分为骨膜,骨质和骨髓三部分组成.

兴国镇庙咀村:山上山下看变化

正版 创意水粉画 提高篇 儿童水粉画入门教程幼儿启蒙水粉画册