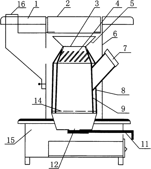
一种无烟环保的柴气炉的制作方法

高清图片下载 免费 安全无风险
一种无烟环保的柴气炉的制作方法

一种无烟环保的柴气炉的制作方法

点击图片查看原图

图片信息

  • 格式: JPG
  • 尺寸: 861x1000
  • 大小: 约1.2MB

版权声明

相关标签

自然风光 高清壁纸 4K画质

分享图片

相关推荐

基于当前图片的相似推荐

柴气炉原理和方案设想

一种无烟柴火灶的制作方法

2,通风道的设计通风道是指炉篦以下的空间.

一种带有二次调风功能的家用柴火炉_cn201921531887.1_知雀网

新式无烟节能柴火灶的结构设计附尺寸

一种无烟燃烧的正烧炊事采暖炉的制作方法

一种带进料口的家用节能柴草炉

一种内燃式野营柴火炉制造技术

一种旋转火焰无烟柴火气化炉的制作方法

cn1391064a_水煤汽式无烟省柴炉灶失效

下吸式双循环秸秆气化炉

cn212901599u_不锈钢无烟不黑锅圆柱体柴气炉有效

随机推荐

发现更多精彩图片

向全世界安利王一博#wyb#王一博酷盖#黑色西装搭配领结,胸针璀璨星光

aph aph 黑塔利亚 乌/克/兰 冬尼娅.

《 人民日报 》( 2021年05月25日 05 版)"把坚持马克思主义和发展

新时代文明实践丨江东益趣堂第四期茶艺体验课开始报名啦

通用型防盗门锁芯超c级家用进户入户门全铜叶片盼盼步阳一体钥匙

女生每天都洗内裤 为何中间还是发黄发硬

二哈和他的白猫师尊,墨燃,楚晚宁

巨盗龙,恐龙,三维图形,垂直画幅,天空

有这些配方谁还去面包店!巨好吃的吐司做法.6款营养美味的吐司 - 抖音

看哭大学生火车站发病心脏骤停山东女子抢救病人哭成泪人