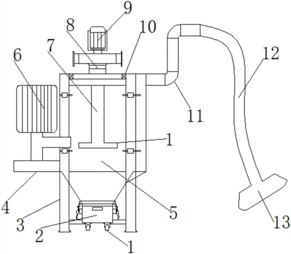
一种多功能路面沥青喷涂机的制作方法

高清图片下载 免费 安全无风险
一种多功能路面沥青喷涂机的制作方法

一种多功能路面沥青喷涂机的制作方法

点击图片查看原图

图片信息

  • 格式: JPG
  • 尺寸: 1000x896
  • 大小: 约1.2MB

版权声明

相关标签

自然风光 高清壁纸 4K画质

分享图片

相关推荐

基于当前图片的相似推荐

pqp7136a-f气动喷涂机装配图

一种石膏砂浆喷涂机的制作方法

一种可调节式腻子喷涂机的制作方法

高压无气喷涂机gp1234,gp2546

泰安宇成矿用设备有限公司销售各种喷浆机喷涂机配件:混凝土喷射机,pz

热发泡喷墨打印机原理构造示意图

电动高压无气喷涂机油漆乳胶漆防水防火涂料钢结构喷漆机tp595手提款

涂安 隔膜式无气喷涂机 ta-03 18l/min 汽油 5000w_喷涂机_空压机及

w680小字符喷码机如何调整墨线

一种便于增加喷射强度的腻子喷涂机的制作方法

随机推荐

发现更多精彩图片

动漫眼镜男头像,卡通头像图片

许嵩第八张专辑呼吸之野

什么时候能出特效药.

83版射雕英雄传演员表

"小丑"现实要求解放监狱囚犯!纽约要成为哥谭市了吗?

两只老虎简谱两只老虎c调吉他谱简单版

简笔画-梯形的简笔画如何画

手工 #教程 #创意 #闺蜜 #治愈 #vlog日常 #废物利用

如何评价吉良吉影的生活习惯

请问带鸡冠的蛇是什么蛇