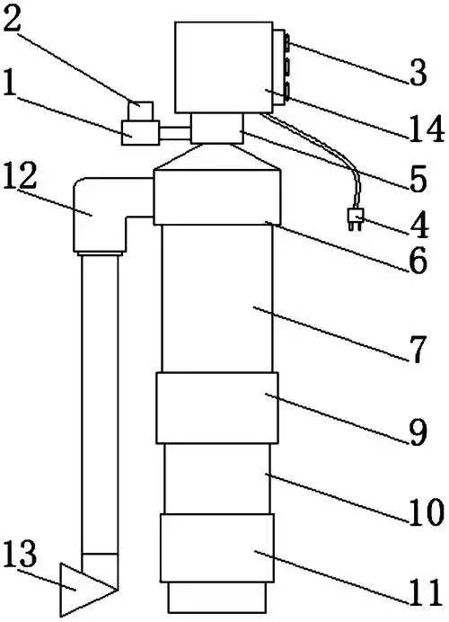
一种新型鱼粪便收集净化装置的制作方法

高清图片下载 免费 安全无风险
一种新型鱼粪便收集净化装置的制作方法

一种新型鱼粪便收集净化装置的制作方法

点击图片查看原图

图片信息

  • 格式: JPG
  • 尺寸: 1000x826
  • 大小: 约1.2MB

版权声明

相关标签

自然风光 高清壁纸 4K画质

分享图片

相关推荐

基于当前图片的相似推荐

【diy创新】自制((鱼便分离器))

自制鱼缸粪便分离器

图中鱼便分离器内部结构变了,不是图纸中那样,那个结构不行.

自动清理多功能组合式鱼便分离器

鱼缸粪便收集器底滤鱼便分离器下过滤前置鱼马桶外置沉淀仓过滤器

一种自动鱼缸粪便分离器

鱼缸粪便收集器鱼马桶外置鱼便分离器前置沉淀桶自动吸便反冲清洗

鱼马桶粪便收集器沉淀仓鱼缸底过滤系统不锈钢滤网鱼便分离器水族

新品鱼便分离器外置 自制前置鱼屎鱼粪过滤器清理吸便沉淀仓自动

随机推荐

发现更多精彩图片

20岁关晓彤全家近照母亲高贵雍容老爸帅气有才母女俩一模样

祝德鲁纳酒店开播两周年快乐

韩国朝鲜时代的簪子

人民网5月17日讯 韩国男团got7成员段宜恩公开了成员们最新合照.

《永固的历史》"抗日战争胜利70周年纪念"|插画|艺术插画|胖妖怪_原创

热门程序员头像合集