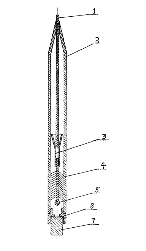
一种新型自动铅笔

高清图片下载 免费 安全无风险
一种新型自动铅笔

一种新型自动铅笔

点击图片查看原图

图片信息

  • 格式: JPG
  • 尺寸: 696x1332
  • 大小: 约1.2MB

版权声明

相关标签

自然风光 高清壁纸 4K画质

分享图片

相关推荐

基于当前图片的相似推荐

请问自动铅笔的工作原理是怎么样的啊谁有自动铅笔设计原理图

cn2158349y_毛刷送芯全自动铅笔失效

自动铅笔的制作方法

50元左右好用的自动铅笔有哪些

例如:自动复位关闭门,自动伞,自动铅笔等,十分方便.

请问自动铅笔的工作原理是怎么样的啊谁有自动铅笔设计原理图

自动铅笔的制作方法

请问自动铅笔的工作原理是怎么样的啊谁有自动铅笔设计原理图

一种自动铅笔的制作方法

一种内置备用笔芯的自动铅笔

cn202138096u_一种新型自动铅笔失效

cn2115897u_旋转式笔具失效

随机推荐

发现更多精彩图片

【第四届u爱珠宝新娘日记之婚纱】

年轻人会觉得纹身很酷,而且还非常喜欢,愿意去尝试在身上纹图案.

悟饭首次变身超二-这一刻,你无愧于最强!_哔哩哔哩_bilibili

【图】h7l你让我们等的好苦啊_哈弗h7论坛_汽车之家论坛

七海千秋周边 弹丸论破周边cos证件名片狛枝凪斗七海千秋日向王马小吉

智力大考验移动一根火柴让等式成立小学生的题

用雪糕棒做一个扇子吧

冰淇淋和冰激凌有什么区别?其实冰淇淋和冰激凌是两码事儿

撩妹娃和仙女姐姐同床共枕啦,儿子帮老爸神助攻拿下仙女姐姐

战壕古董抬臂煤油打火机复古黄铜手工收藏送礼煤油打火机