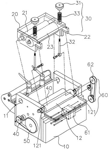
一种用于连续模的凸轮送料机构的制作方法

高清图片下载 免费 安全无风险
一种用于连续模的凸轮送料机构的制作方法

一种用于连续模的凸轮送料机构的制作方法

点击图片查看原图

图片信息

  • 格式: JPG
  • 尺寸: 1000x951
  • 大小: 约1.2MB

版权声明

相关标签

自然风光 高清壁纸 4K画质

分享图片

相关推荐

基于当前图片的相似推荐

工程科技 机械/仪表 自动送料冲床 方案评价: 优点:1送料机构由摆动

cn204250797u_一种步进送料机构有效

带式往复式输送机机械送料机构 是什么样子

带式输送机课件(燃料专业)ppt

机械原理课程设计任务书(单边滚轴自动送料机构设计与分析)

一种全自动钢带送料机构-爱企查

cn213196767u_一种棒料自动送料机构

条料步进送料机总装图

cn201140254y_自动化冲压设备的送料装置失效

一种nc伺服双料送料机构的制作方法

一种中频加热电炉的管材送料机构的制作方法

一种送料机构的制作方法

随机推荐

发现更多精彩图片

今天和爱人一起去了公园散步,阳光正好,微风不燥,手牵手的感觉真好.

如果定位销选装过长,会影响发动机相关部位的密封性能,造成曲轴箱

【红小居家战"疫"】美术篇(5)—错觉艺术:3d立体画

(体育)花样游泳——全国冠军赛:北京体彩队获集体技术自选冠军(2)

简单拆宇视科技的网络摄像头

蓝天白云78无意间拍到了云朵爱心的形状

英仙座 br /> 英仙座 位于仙后座,仙女座的东面,我是顺着仙后座w型

迪拜七星帆船酒店.阿拉伯塔酒店-迪拜的七星级酒店 阿拉伯塔酒 - 抖音

1000购入的宜家汉尼斯沙发床09安装完成