(民间传说《白蛇传》中人物)

高清图片下载 免费 安全无风险
(民间传说《白蛇传》中人物)

(民间传说《白蛇传》中人物)

点击图片查看原图

图片信息

  • 格式: JPG
  • 尺寸: 536x800
  • 大小: 约1.2MB

版权声明

相关标签

自然风光 高清壁纸 4K画质

分享图片

相关推荐

基于当前图片的相似推荐

《新白娘子传奇》小青

肖燕新白娘子传奇小青

《青蛇》人生如此 x张曼玉(小青)

【4k修复可以看清刘涛的胡子】白蛇传(2006)片段:白蛇青蛇初遇法海

新白娘子传奇 小青 肖燕

《青蛇》白蛇修炼成人与许仙相恋,对感情忠贞不渝_高清图集_新浪网

《新白娘子传奇》【小青】肖燕

新白娘子传奇 小青(肖燕)

36精彩片段:王祖贤版白蛇斗法赵文卓03:17《青蛇》张曼玉赵文卓演绎

白蛇传|戴君竹|青蛇_新浪新闻

随机推荐

发现更多精彩图片

王俊凯王源易烊千玺转发tfboys官博

喜欢兰花的风骨第一把画坏了,这是第二把哈哈#手绘国画团扇#纯手绘

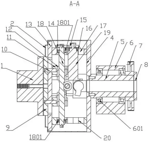
一种四爪电动卡盘装置

神奇宝贝:牵绊智爷:裂空座(闪光)图文

【胡萝卜瘦肉粥】十分钟早餐粥之二的做法,【胡萝卜瘦肉粥】十分钟

生活里的各种小物件日常生活物件素材仅做分享练习使用by

福特野马车标志图片(车标一个银色跃起的马)

手机拍摄:虞美人花果迎秋

无穷小亮表情包 微博新表情藏狐比心表情包_emoji_斗图表情包 - 发

日式小熊便当超轻粘土266066