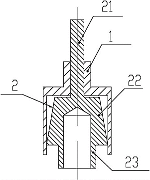
挡圈轴用弹性挡圈/gb 894.1-86

高清图片下载 免费 安全无风险
挡圈轴用弹性挡圈/gb 894.1-86

挡圈轴用弹性挡圈/gb 894.1-86

点击图片查看原图

图片信息

  • 格式: JPG
  • 尺寸: 667x1024
  • 大小: 约1.2MB

版权声明

相关标签

自然风光 高清壁纸 4K画质

分享图片

相关推荐

基于当前图片的相似推荐

一种轴用弹性挡圈装配装置-爱企查

cn202640253u_轴用弹性挡圈装配工装失效

qibindn1400na轴用弹性挡圈025d3938

关于轴用弹性挡圈,你需要的知识都在这!

用作固定零部件的轴向运动,这类挡圈的外径比装配圆孔直径径稍大

一种轴用弹性挡圈装配装置

1-86轴用弹性挡圈-a型

随机推荐

发现更多精彩图片

亲爱的好想让你抱抱我

摩根碎盖是一款很火的盖头发型,而且男女通用.

动漫头像男生帅气霸气表情冰冷无情的冷酷动漫男生

复合绝缘子,钢化玻璃绝缘子,悬式绝缘子等产品型号:陶瓷绝缘子1,xp-70

软乎乎的国宝熊猫超可爱微信头像

这是军嫂特有的浪漫!

巴黎圣母院人类文明的瑰宝巴黎地图上的一颗明珠

黄钻黄色钻石的分级过程是怎么样和白钻的分级一样吗是不是也有一套