整容天后资料页_娱乐资料库_新浪娱乐_新浪网

高清图片下载 免费 安全无风险
整容天后资料页_娱乐资料库_新浪娱乐_新浪网

整容天后资料页_娱乐资料库_新浪娱乐_新浪网

点击图片查看原图

图片信息

  • 格式: JPG
  • 尺寸: 540x763
  • 大小: 约1.2MB

版权声明

相关标签

自然风光 高清壁纸 4K画质

分享图片

相关推荐

基于当前图片的相似推荐

整容天后资料页_娱乐资料库_新浪娱乐_新浪网

电影整容天后 莉莉子

岛国重口味现实电影整容天后皮囊下的欲望

电影整容天后 莉莉子

4分钟看完日本电影《整容天后》,一夜爆红只需要做这几步!

三级片《整容天后》香艳剧照 香港票房夺冠(组图)

【冰糖说电影】《狼狈》整容天后 用痛苦换来的一时美貌要不得_哔哩

电影整容天后 莉莉子

电影整容天后 莉莉子

整容天后资料页_娱乐资料库_新浪娱乐_新浪网

生活中是否存在《整容天后》中的全身整形

2012日本惊悚片《狼狈/整容天后》中字

随机推荐

发现更多精彩图片

牡丹纹身牡丹纹身手稿牡丹纹身手稿图案

ins风高级质感高冷漫画女生头像 可爱御姐风微信漫画女头图片_动漫

齐齐哈尔市公安局特警支队伏天砺精兵

2022五台山旅游景点攻略自由行攻略最新最全

如何使用圆圈磁铁制作发电机,就是消耗磁场太快了

kilt sale embossed scottish leather kilt sporran sialkot kilts

横幅全神图画像三清玉皇大帝王母斗姆元君雷祖太乙横批水陆画定制

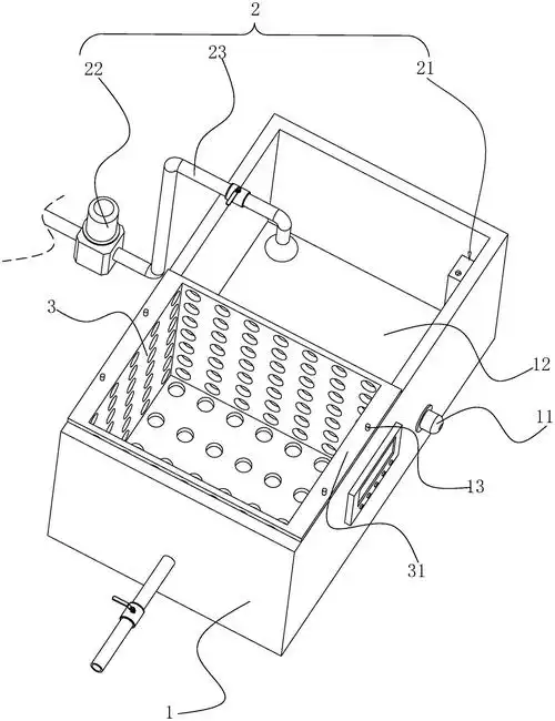
一种可自动进水的超声波清洗机

平安喜乐|平面|字体/字形|王大木的视野 - 原创作品 - 站酷 (zcool)

400_225gif 动态图 动图

错过古天乐,38岁下嫁小6岁河南小伙,港姐郭羡妮真的选对了吗