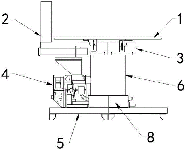
cn2919162y_全圆环绕加热方式的回转炉失效

高清图片下载 免费 安全无风险
cn2919162y_全圆环绕加热方式的回转炉失效

cn2919162y_全圆环绕加热方式的回转炉失效

点击图片查看原图

图片信息

  • 格式: JPG
  • 尺寸: 2138x1206
  • 大小: 约1.2MB

版权声明

相关标签

自然风光 高清壁纸 4K画质

分享图片

相关推荐

基于当前图片的相似推荐

一种火力可调式节能环保回风炉的制作方法

一种无烟型节能回风炉的制作方法

一种无烟型节能回风炉

cn204063139u_一种高效回风炉有效

一种生物质颗粒燃烧节能环保回风炉

一种回风炉的分级送风与烟气再循环系统技术方案

一种新型热处理回火炉

自动进氧节能回风炉

带环火烤箱的回风气化炉

cn106191414a_一种网带式内置热风循环加热回火炉及其加热的方法失效

一种节能高效环保型回风炉

随机推荐

发现更多精彩图片

斓曦原名张凡1983年9月4日出生于安徽安庆中国内地女演员毕业于中央

壁纸 春天,樱花开花,粉红色的树花

四大发明火药校园文明传统文化建设宣传海报设计

10张古风美男子图集如此惊艳的红衣之美美图

22钢琴简谱-数字双手-taylor swift2

标签:大理电梯门套窗台大理石多少钱平邑旭泽石材有限公司联系人:魏总

18款治愈系中文手写体,感受文字的温暖力量!

世界上最难攀登的四座山峰,中国有一个上榜!

广州长隆野生动物世界